LEMON Manuals: Even more car manuals for everyone: 1960-2025
Home >> Honda >> 2003 >> Odyssey V6-3.5L >> Repair and Diagnosis >> Relays and Modules >> Relays and Modules - Wiper and Washer Systems >> Wiper Control Module >> Testing and Inspection >> Rear Wiper Control Unit Input
April 5, 2026: LEMON Manuals is launched! Read the announcement.

Rear Wiper Control Unit Input

Rear Window Wiper Intermittent Control Unit Input Test

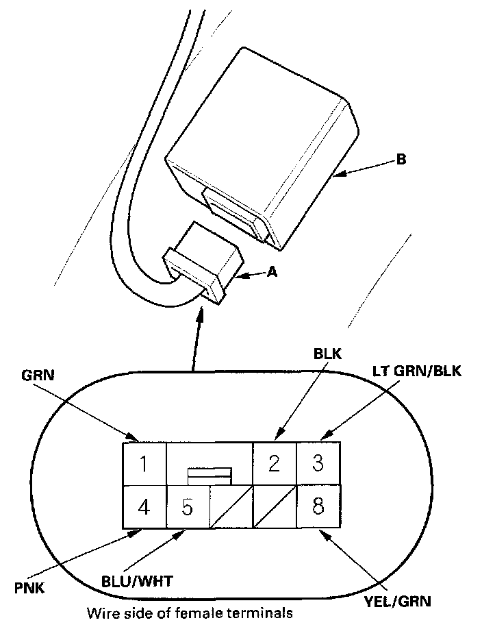
1. Remove the left rear side trim panel.




2. Disconnect the 8P connector (A) from the rear window intermittent wiper control unit (B).
3. Inspect the connector and socket terminals to be sure they are all making good contact.
- If the terminals are bent, loose or corroded, repair them as necessary, and recheck the system.
- If the terminals look OK, go to step 4.




4. With the connector still disconnected, make these input tests at the connector.
- If any test indicates a problem, find and correct the cause, then recheck the system.
- If all the input tests prove OK, go to step 5.




5. Reconnect the rear window wiper intermittent control unit and make these input tests.
- If any test indicates a problem, find and correct the cause, then recheck the system.
- If all the input tests prove OK, the control unit must be faulty, replace it.