LEMON Manuals: Even more car manuals for everyone: 1960-2025
Home >> Honda >> 2003 >> Pilot EX >> Repair and Diagnosis >> Engine Performance >> System >> Fuel Supply System >> Fuel Pump Test
April 5, 2026: LEMON Manuals is launched! Read the announcement.

Fuel Pump Test

If you suspect a problem with the fuel pump, check that the fuel pump actually runs; when it is on, you will hear fuel flow if you listen to the injector rails underneath the intake manifold cover. The fuel pump should run for 2 seconds when the ignition switch is first turned ON (II). If the fuel pump does not make noise, check as follows:

  1. Turn the ignition switch OFF.
  2. Remove the driver's side second row seat (see SECOND ROW SEAT REMOVAL/INSTALLATION ).
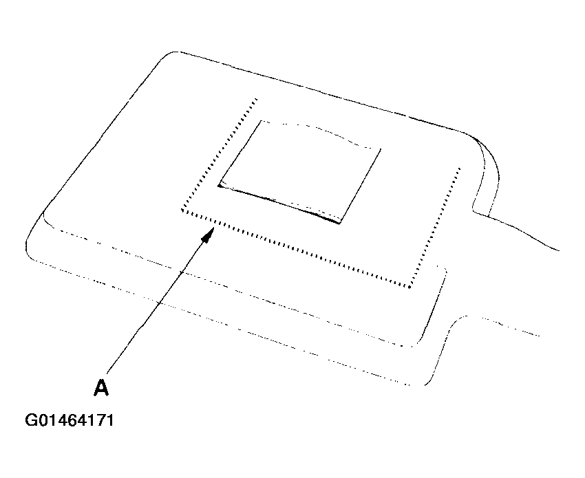
  3. Cut the carpet at the dotted line (A). Be careful not to cut the wire harness under the carpet.
    Fig 1: Cutting The Carpet At The Dotted Line
    G01464171Courtesy of AMERICAN HONDA MOTOR CO., INC.
  4. Remove the access panel (A) from the floor, then disconnect the fuel pump 5P connector (B).
    Fig 2: Removing The Access Panel
    G01464172Courtesy of AMERICAN HONDA MOTOR CO., INC.
  5. Connect PGM-FI main relay 7P connector terminals No. 4 and No. 5 with a jumper wire.
    Fig 3: Connecting PGM-FI Main Relay 7P Connector Terminals No. 4 & No. 5 With A Jumper Wire
    G01464173Courtesy of AMERICAN HONDA MOTOR CO., INC.
  6. Turn the ignition switch ON (II).
  7. Check that battery voltage is available between the fuel pump 5P connector terminal No. 5 and body ground when the ignition switch is turned ON (II).
    Fig 4: Measuring Voltage Between The Fuel Pump 5P Connector Terminal No. 5 & Body Ground
    G01464174Courtesy of AMERICAN HONDA MOTOR CO., INC.