LEMON Manuals: Even more car manuals for everyone: 1960-2025
Home >> Honda >> 2003 >> Pilot EX >> Repair and Diagnosis >> Restraints >> Restraints Control Systems >> Seat Belts >> Inspection >> Retractor
April 5, 2026: LEMON Manuals is launched! Read the announcement.

Seat Belts: Inspection: Retractor

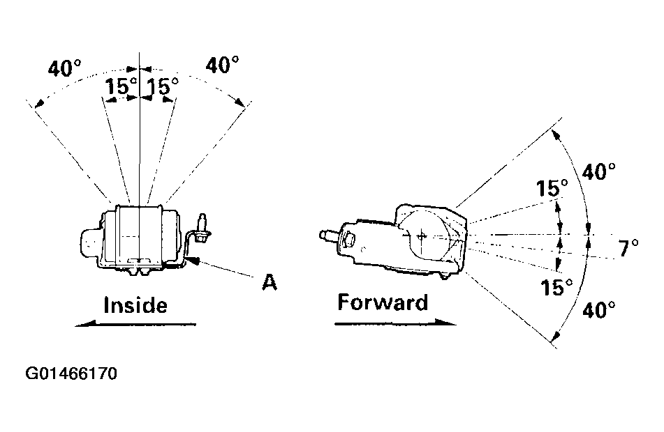
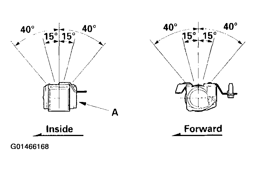
  1. Before installing the retractor, check that the seat belt can be pulled out freely.
  2. Make sure that the seat belt does not lock when the retractor (A) is leaned slowly up to 15° from the mounted position. The seat belt should lock when the retractor is leaned over 40°. Do not attempt to disassemble the retractor.
    Fig 1: Checking Seat Belt Retractor Operation (Front)
    G01466166Courtesy of AMERICAN HONDA MOTOR CO., INC.
    Fig 2: Checking Seat Belt Retractor Operation (Second Row)
    G01466167Courtesy of AMERICAN HONDA MOTOR CO., INC.
    Fig 3: Checking Seat Belt Retractor Operation (Center Second Row)
    G01466168Courtesy of AMERICAN HONDA MOTOR CO., INC.
    Fig 4: Checking Seat Belt Retractor Operation (Third Row)
    G01466169Courtesy of AMERICAN HONDA MOTOR CO., INC.
    Fig 5: Checking Seat Belt Retractor Operation (Center Third Row)
    G01466170Courtesy of AMERICAN HONDA MOTOR CO., INC.
  3. Replace the seat belt with a new assembly if there is any abnormality. Do not disassemble any part of the seat belt for any reason.