LEMON Manuals: Even more car manuals for everyone: 1960-2025
Home >> Honda >> 2003 >> Pilot EX >> Repair and Diagnosis >> Steering >> Steering Column >> Power Steering >> Steering Gearbox Installation
April 5, 2026: LEMON Manuals is launched! Read the announcement.

Steering Gearbox Installation

NOTE: Before installing the steering gearbox, make sure that no power steering fluid is on the mating surface of the gearbox and a front suspension subframe. To prevent the gearbox mounting bolts from loosening after the installation, remove the power steering fluid from the mount cushions and bolt holes.
  1. Install the pinion shaft grommet (A) on the valve housing.
  2. Slide the steering gearbox (B) between the front suspension subframe and body from the driver's side. Place the gearbox in position on the front suspension subframe.
    Fig 1: Sliding The Steering Gearbox Between The Front Suspension Subframe & Body
    G01463143Courtesy of AMERICAN HONDA MOTOR CO., INC.
  3. Install the gearbox stiffener bracket (A) on the front suspension subframe, and tighten the bolt and nut to the specified torque.
    Fig 2: Installing The Gearbox Stiffener Bracket
    G01463144Courtesy of AMERICAN HONDA MOTOR CO., INC.
  4. Loosely install the two 10 mm flange bolts on the left side of the gearbox.
    Fig 3: Installing The 10 Mm Flange Bolts On The Left Side Of The Gearbox
    G01463145Courtesy of AMERICAN HONDA MOTOR CO., INC.
  5. Install the mounting cushion (A) on the right side of the gearbox.
    Fig 4: Installing The Mounting Cushion On The Right Side Of The Gearbox
    G01463146Courtesy of AMERICAN HONDA MOTOR CO., INC.
  6. Install the mounting bracket (B) over the mounting cushion, then install the two 10 mm flange bolts (C). Tighten the four 10 mm flange bolts for the gearbox to the specified torque.
  7. Connect the return hose (A) securely, and tighten the adjustable hose clamp (B) (see POWER STEERING HOSE, LINE & PRESSURE SWITCH REPLACEMENT  ).
    Fig 5: Connecting The Return Hose
    G01463147Courtesy of AMERICAN HONDA MOTOR CO., INC.
  8. Connect the feed line (C), and tighten the 14 mm flare nut (D) to the specified torque.
  9. Install the P/S line mounting brackets (A) on the front suspension subframe and gearbox mounting bracket.
    Fig 6: Installing The P/S Line Mounting Brackets
    G01463148Courtesy of AMERICAN HONDA MOTOR CO., INC.
  10. Carefully raise the front suspension subframe with the transmission jack (transfer case supporting jack).
  11. Install the front suspension subframe rear bracket (A). Tighten the 12 mm flange bolts (B) and 14 mm special bolts (C) to specified torque.
    Fig 7: Installing The Front Suspension Subframe Rear Bracket
    G01463149Courtesy of AMERICAN HONDA MOTOR CO., INC.
  12. Install the front suspension subframe front bracket (A) with 12 mm flange bolts (B) and 14 mm special bolts (C), and tighten to specified torque.
    Fig 8: Installing The Front Suspension Subframe Front Bracket
    G01463150Courtesy of AMERICAN HONDA MOTOR CO., INC.
  13. Lower the front subframe supporting jack and the transmission jack.
  14. Install the splash shield (A).
    Fig 9: Installing The Splash Shield
    G01463151Courtesy of AMERICAN HONDA MOTOR CO., INC.
  15. Install the propeller shaft protector.
    Fig 10: Installing The Propeller Shaft Protector
    G01463152Courtesy of AMERICAN HONDA MOTOR CO., INC.
  16. Connect the power steering pressure (PSP) switch connector (A).
    Fig 11: Connecting The Power Steering Pressure Switch Connector
    G01463153Courtesy of AMERICAN HONDA MOTOR CO., INC.
  17. Connect the three way catalytic converter (TWC) (A) and mufflers (B). Install the new 10 mm self-locking nuts and tighten them to specified torque.
    Fig 12: Connecting The Three Way Catalytic Converter
    G01463154Courtesy of AMERICAN HONDA MOTOR CO., INC.
  18. Install the exhaust rubber mount on the frame.
    Fig 13: Installing The Exhaust Rubber Mount On The Frame
    G01463155Courtesy of AMERICAN HONDA MOTOR CO., INC.
  19. Connect the secondary heated oxygen sensor (secondary HO2S) connector (A), and install the wire harness on the clamp and clip. Make sure the wire harness is routed and fastened properly.
    Fig 14: Connecting The Secondary Heated Oxygen Sensor Connector
    G01463156Courtesy of AMERICAN HONDA MOTOR CO., INC.
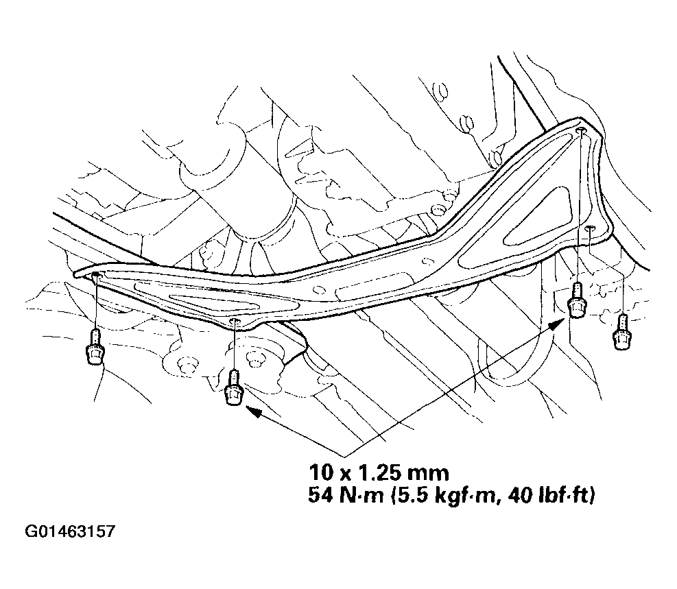
  20. Install the front suspension subframe stiffener.
    Fig 15: Installing The Front Suspension Subframe Stiffener
    G01463157Courtesy of AMERICAN HONDA MOTOR CO., INC.
  21. Install the 10 mm flange bolts on the engine side mount bracket (A).
    Fig 16: Installing The 10 Mm Flange Bolts On The Engine Side Mount Bracket
    G01463158Courtesy of AMERICAN HONDA MOTOR CO., INC.
  22. Connect the pump outlet hose (A) from the power steering pump, and install the hose clamp (B).
    Fig 17: Connecting The Pump Outlet Hose
    G01463159Courtesy of AMERICAN HONDA MOTOR CO., INC.
  23. Wipe off any grease contamination from the ball joint tapered section and threads. Reconnect the tie-rod ends (A) to the steering knuckles. Install the 12 mm nut (B) and tighten it.
    Fig 18: Reconnecting The Tie-Rod End To The Steering Knuckle
    G01463160Courtesy of AMERICAN HONDA MOTOR CO., INC.
  24. Install the new cotter pin (C) and bend it as shown.
  25. Center the steering rack within its stroke, then install the steering joint (A), and reconnect the steering shaft (B) and pinion shaft (C). Make sure the steering joint is connected as follows:
    • Insert the upper end of the steering joint onto the steering shaft (line up the bolt hole (D) with the flat portion (E) on the shaft).
    • Slip the lower end of the steering joint onto the pinion shaft (line up the bolt hole (F) with the groove (G) around the shaft), and loosely install the lower joint bolt. Be sure that the lower joint bolt is securely in the groove in the pinion shaft.
    • Pull on the steering joint to make sure that the steering joint is fully seated. Then install the upper joint bolt and tighten it. Tighten lower joint bolt.
    Fig 19: Installing The Upper Joint Bolt
    G01463161Courtesy of AMERICAN HONDA MOTOR CO., INC.
  26. Center the cable reel first by rotating it clockwise until it stops. Then rotate it counterclockwise (about two and one-half turns) until the arrow mark on the label points straight up.

    Reinstall the steering wheel (see STEERING WHEEL INSTALLATION  ).

  27. Install the steering joint cover (A) with the clamps (B) and clips (C).
    Fig 20: Installing The Steering Joint Cover With The Clamps & Clips
    G01463162Courtesy of AMERICAN HONDA MOTOR CO., INC.
  28. Install the front wheels.
  29. Connect the battery cable.
  30. Fill the system with power steering fluid, and bleed air from the system (see FLUID REPLACEMENT  ).
  31. After installation, perform the following:
    • Start the engine, allow it to idle, and turn the steering wheel from lock-to-lock several times to warm up the fluid. Check the gearbox for leaks (see FLUID LEAKAGE INSPECTION  ).
    • Adjust the front toe (see TOE-IN ADJUSTMENT ).
    • Check the steering wheel spoke angle. Adjust by turning the right and left tie-rods equally, if necessary.