LEMON Manuals: Even more car manuals for everyone: 1960-2025
Home >> Honda >> 2003 >> Pilot LX >> Repair and Diagnosis (Single Page) >> Engine Performance >> System >> VTEC >> VTEC Solenoid Valve Test
April 5, 2026: LEMON Manuals is launched! Read the announcement.

VTEC Solenoid Valve Test

  1. Disconnect the VTEC solenoid valve 1P connector.
  2. Measure resistance between the VTEC solenoid valve 1P connector terminal No. 1 and body ground.
    • If the resistance is as specified, go to step 3.
    • If the resistance is not as specified, replace the VTEC solenoid valve.

    Resistance: 14-30Ω 

    Fig 1: Measuring Resistance Between The VTEC Solenoid Valve 1P Connector Terminal No. 1 & Body Ground
    G01464120Courtesy of AMERICAN HONDA MOTOR CO., INC.
  3. Remove the VTEC solenoid valve/oil filter assembly (A) from the oil pump, and check the VTEC solenoid valve filter (B) for clogging. If there is clogging, replace the VTEC solenoid valve filter, the engine oil filter, and the engine oil.
    Fig 2: Removing The VTEC Solenoid Valve/Oil Filter Assembly From The Oil Pump
    G01464121Courtesy of AMERICAN HONDA MOTOR CO., INC.
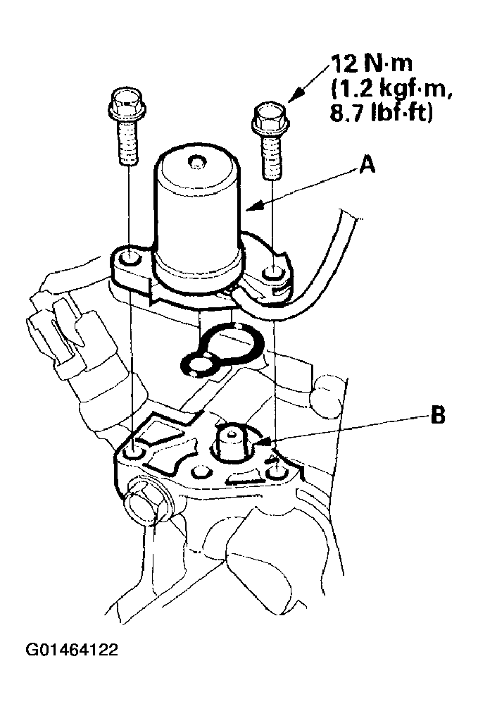
  4. If the filter is not clogged, remove the VTEC solenoid valve (A) and push the valve (B) with your finger to check its movement. If the valve is normal, check the engine oil pressure.
    Fig 3: Removing The VTEC Solenoid Valve
    G01464122Courtesy of AMERICAN HONDA MOTOR CO., INC.