LEMON Manuals: Even more car manuals for everyone: 1960-2025
Home >> Honda >> 2003 >> Pilot V6-3.5L >> Repair and Diagnosis >> Maintenance >> Diagrams
April 5, 2026: LEMON Manuals is launched! Read the announcement.

Maintenance: Diagrams







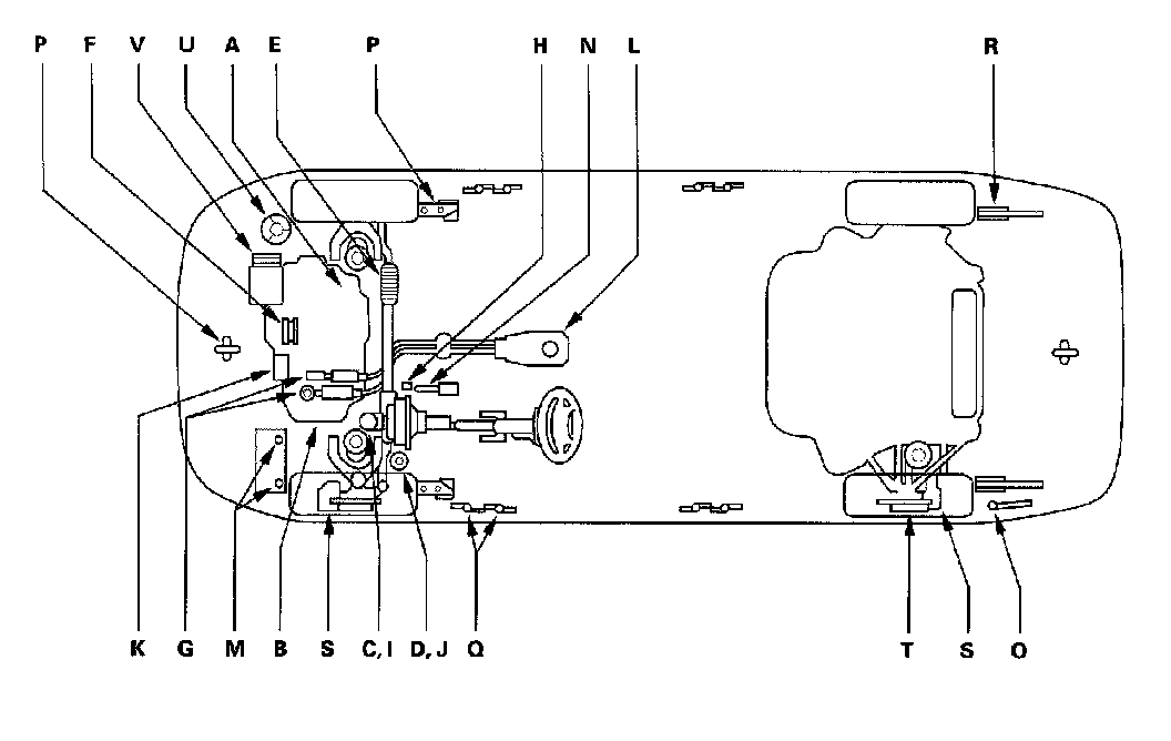
For details of lubrication points and type of lubricants to be applied, refer to the illustrated index and various work procedures (such as Assembly/Reassembly, Replacement, Overhaul, Installation, etc.) contained in each section.