LEMON Manuals: Even more car manuals for everyone: 1960-2025
Home >> Honda >> 2004 >> Accord L4-2.4L >> Repair and Diagnosis >> Testing and Inspection
April 5, 2026: LEMON Manuals is launched! Read the announcement.

Repair and Diagnosis: Testing and Inspection




Power Relay Test

Use this chart to identify the type of relay then do the test listed for it.

NOTE: for the turn signal/hazard relay input test.




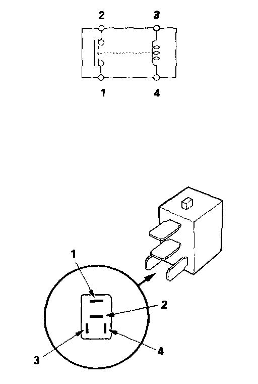
Normally-open type

Check for continuity between the terminals.

- There should be continuity between the No.1 and No.2 terminals when power and ground are connected to the No.3 and No.4 terminals.
- There should be no continuity between the No.1 and No.2 terminals when power is disconnected.




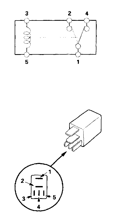
Five-terminal type B

Check for continuity between the terminals

- There should be continuity between the No.1 and No.2 terminals when power and ground are connected to the No, 3 and No.5 terminals.
- There should be continuity between the No.1 and No.4 terminals when power is disconnected.