LEMON Manuals: Even more car manuals for everyone: 1960-2025
Home >> Honda >> 2004 >> Civic L4-1.7L SOHC >> Repair and Diagnosis >> Powertrain Management >> Computers and Control Systems >> Transmission Position Sensor/Switch >> Service and Repair
April 5, 2026: LEMON Manuals is launched! Read the announcement.

Transmission Position Sensor/Switch: Service and Repair

Transmission Range Switch Replacement
1. Raise the vehicle, and make sure it is securely supported.
2. Shift to the N position.





3. Remove the transmission range switch cover (A).
4. Disconnect the transmission range switch connector (B).





5. Remove the old transmission range switch, and install the new switch.





6. Make sure that the control shaft is in the N position. If necessary, move the shift lever to the N position.





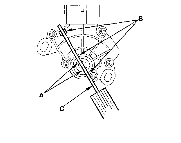
7. Align the cutouts (A) on the rotary-frame with the neutral positioning cutouts (B) on the transmission range switch, then put a 2.0 mm (0.08 inch) feeler gauge blade (C) in the cutouts to hold it in the N position.

NOTE: Be sure to use a 2.0 mm (0.08 inch) blade or equivalent to hold the switch in the N position.





8. Install the transmission range switch (A) gently on the control shaft (B) with holding the N position with the 2.0 mm (0.08 inch) blade (C).





9. Tighten the bolts on the transmission range switch while you continue to hold it in the N position. Do not move the transmission range switch when tightening the bolts. Remove the feeler gauge.





10. Connect the connector securely, then install the transmission range switch cover.





11. Turn the ignition switch ON (II). Move the shift lever through all gear positions, and cheek the transmission range switch synchronization with the A/T gear position indicator.
12. Allow the wheels to rotate freely, then start the engine.
13. Move the shift lever through all gear positions, and verify the following:
^ The engine will not start in any position other than N or P.
^ The back-up lights come on when the shift lever is in the R position.