LEMON Manuals: Even more car manuals for everyone: 1960-2025
Home >> Honda >> 2004 >> Civic L4-1.7L SOHC >> Repair and Diagnosis >> Relays and Modules >> Relays and Modules - Powertrain Management >> Relays and Modules - Computers and Control Systems >> Engine Control Module >> Service and Repair
April 5, 2026: LEMON Manuals is launched! Read the announcement.

Engine Control Module: Service and Repair

How to Remove the ECM/PCM for Testing

1. Remove the passenger's dashboard lower cover, the right kick panel, and the glove box.




2. Remove the bolt. Cut the plastic cross brace in the glove box opening with diagonal cutters in the area shown, and discard it.




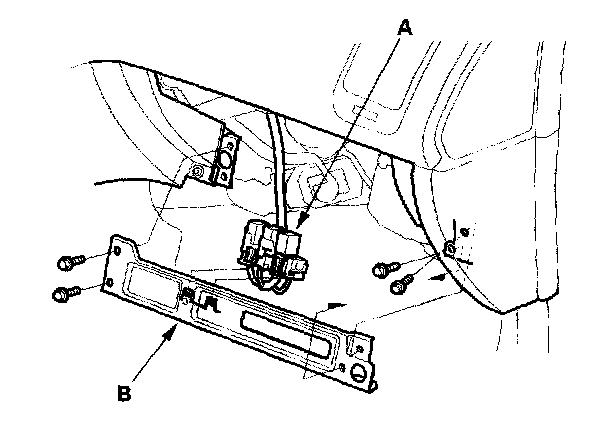
3. Remove the relays (A), then remove the bolts and the glove box frame (B).




4. Remove the gray 20P ECM/PCM wire harness connector from the ECM/PCM mounting bracket. Remove the ECM/PCM mounting bolt (A) and the bracket.
5. Remove the nuts, then remove the ECM/PCM (B).
6. Install the ECM/PCM in the reverse order of removal.