LEMON Manuals: Even more car manuals for everyone: 1960-2025
Home >> Honda >> 2004 >> Civic Si >> Repair and Diagnosis >> Engine Performance >> System >> EVAP System (Hatchback) >> DTC Troubleshooting >> DTC P1456: EVAP Control System Leakage (Fuel Tank System)
April 5, 2026: LEMON Manuals is launched! Read the announcement.

DTC P1456: EVAP Control System Leakage (Fuel Tank System)

NOTE: The fuel system is designed to allow specified maximum vacuum and pressure conditions. Do not deviate from the vacuum and pressure tests as indicated in these procedures. Excessive pressure/vacuum would damage the EVAP components or cause eventual fuel tank failure.

This is a two-trip code. Once cleared, it cannot be reproduced in one trip. Also, certain specific driving and ambient conditions must occur before the ECM will complete the system checks. Additional test drives may still not meet the specific conditions needed to reproduce the code.

Follow these troubleshooting procedures carefully to ensure the integrity of the system and to confirm the cause of the problem or code.

NOTE: Fresh fuel has a higher volatility that creates greater pressure/vacuum. The optimum condition for testing is fresh fuel, and must be less than a full tank. If possible, to assist in leak detection, add 1 gallon of fresh fuel to the tank (as long as it will not fill the tank), just before starting these procedures.

Fuel Fill Cap Check 

  1. Check the fuel fill cap (the cap must say "If not tightened 3 clicks check engine light may come on").

    Is the proper fuel fill cap installed and properly tightened? 

    YES:  Go to step 2.

    NO:  Replace or tighten the cap.

  2. Check the fuel fill cap seal.

    Is the fuel fill cap seal missing or damaged? 

    YES:  Replace the fuel fill cap.

    NO:  The fuel fill cap is OK. Go to step 3.

    EVAP Canister Purge Valve Test 

  3. Disconnect the vacuum hose from the EVAP canister purge valve (A), and connect a commercially available vacuum pump/gauge, YA4000A or equivalent) to the hose.
    Fig 1: Connecting A Vacuum Pump To The Hose
    G01399627Courtesy of AMERICAN HONDA MOTOR CO., INC.
  4. Turn the ignition switch ON (II).
  5. Apply vacuum to the hose.

    Does the valve hold vacuum? 

    YES:  The EVAP canister purge valve is OK. Go to step  11.

    NO:  Go to step 6.

  6. Turn the ignition switch OFF.
  7. Disconnect the EVAP canister purge valve 2P connector.
  8. Check for continuity between EVAP canister purge valve 2P connector terminal No. 2 and body ground.
    Fig 2: Checking For Continuity Between EVAP Canister Purge Valve 2P Connector Terminal No. 2 And Body Ground
    G01399628Courtesy of AMERICAN HONDA MOTOR CO., INC.

    Is there continuity? 

    YES:  Go to step 9.

    NO:  Replace the EVAP canister purge valve (see THROTTLE BODY DISASSEMBLY/REASSEMBLY ).

  9. Disconnect ECM connector B (24P).
  10. Check for continuity between EVAP canister purge valve 2P connector terminal No. 2 and body ground.
    Fig 3: Checking For Continuity Between EVAP Canister Purge Valve 2P Connector Terminal No. 2 And Body Ground
    G01399629Courtesy of AMERICAN HONDA MOTOR CO., INC.

    Is there continuity? 

    YES:  Repair short in the wire between the EVAP canister purge valve and the ECM (B21).

    NO:  Update the ECM if it does not have the latest software, or substitute a known-good ECM, then recheck (see ECM UPDATING AND SUBSTITUTION FOR TESTING ). If the symptom/indication goes away with a known-good ECM, replace the original ECM.

    EVAP Bypass Solenoid Valve Test 

  11. Disconnect both vacuum hoses from the EVAP two way valve (A), and connect a commercially available vacuum pump/gauge, 0-30 in. Hg (A973X-041XXXXX or Snap-on YA4000A or equivalven to the canister port on the EVAP two way valve.
    Fig 4: Connecting A Vacuum Pump To The Canister Port On The EVAP Two Way Valve
    G01399630Courtesy of AMERICAN HONDA MOTOR CO., INC.
  12. Turn the EVAP bypass solenoid valve on with the HDS or a scan tool, or connect ECM connector terminal E20 to body ground with a jumper wire.
    Fig 5: Connecting ECM Connector Terminal E20 To Body Ground With A Jumper Wire
    G01399631Courtesy of AMERICAN HONDA MOTOR CO., INC.
  13. Turn the ignition switch ON (II).
  14. Apply vacuum to the hose.

    Does the valve hold vacuum? 

    YES:  Go to step 15.

    NO:  Go to step  20.

  15. Turn the ignition switch OFF.
  16. Disconnect the EVAP bypass solenoid valve 2P connector.
  17. Check for continuity between EVAP bypass solenoid valve 2P connector terminal No. 2 and body ground.
    Fig 6: Checking For Continuity Between EVAP Bypass Solenoid Valve 2P Connector Terminal No. 2 And Body Ground
    G01399632Courtesy of AMERICAN HONDA MOTOR CO., INC.

    Is there continuity? 

    YES:  Go to step 18.

    NO:  Repair open in the wire between the EVAP bypass solenoid valve and the ECM (E20).

  18. Turn the ignition switch ON (II).
  19. Measure voltage between EVAP bypass solenoid valve 2P connector terminal No. 1 and body ground.
    Fig 7: Measuring Voltage Between EVAP Bypass Solenoid Valve 2P Connector Terminal No. 1 And Body Ground
    G01399633Courtesy of AMERICAN HONDA MOTOR CO., INC.
    Fig 8: Replacing The EVAP Two Way/Bypass Solenoid Valve
    G01399634Courtesy of AMERICAN HONDA MOTOR CO., INC.

    Is there battery voltage? 

    YES:  Replace the EVAP two way/bypass solenoid valve (A).

    NO:  Repair open in the wire between the EVAP bypass solenoid valve and the No. 4 ACG (10A) fuse.

  20. Plug the fuel tank port (A) of the EVAP two way valve.
    Fig 9: Plugging The Fuel Tank Port Of The EVAP Two Way Valve
    G01399635Courtesy of AMERICAN HONDA MOTOR CO., INC.
  21. While monitoring FTP sensor voltage with the HDS or a scan tool, or measuring the voltage between ECM connector terminals E4 and E14, slowly pump the vacuum pump until the voltage drops to about 1.5 volts.
    Fig 10: Measuring The Voltage Between ECM Connector Terminals E4 And E14
    G01399636Courtesy of AMERICAN HONDA MOTOR CO., INC.

    Does the voltage drop to 1.5 V and hold for at least 20 seconds? 

    YES:  The EVAP bypass solenoid valve/EVAP two way valve is OK. Go to step 22.

    NO:  Repair the leak from the EVAP bypass solenoid valve, EVAP two way valve, or FTP sensor.

    EVAP Canister Vent Shut Valve Test 

  22. Disconnect the vacuum hose from the EVAP canister vent filter (A), and connect a commercially available vacuum pump/gauge, 0-30 in. Hg (A973X-041-XXXXX or Snap-On YA41000A or equivalent) to the hose.
    Fig 11: Connecting A Vacuum Pump To The Hose
    G01399637Courtesy of AMERICAN HONDA MOTOR CO., INC.
  23. Turn the ignition switch ON (II).
  24. Apply vacuum to the hose with five strokes of the pump.

    Does the valve hold vacuum? 

    YES:  Go to step 25.

    NO:  The EVAP canister vent shut valve is OK. Go to step  30.

  25. Turn the ignition switch OFF.
  26. Disconnect the EVAP canister vent shut valve 2P connector.
  27. Check for continuity between EVAP canister vent shut valve 2P connector terminal No. 2 and body ground.
    Fig 12: Checking For Continuity Between EVAP Canister Vent Shut Valve 2P Connector Terminal No. 2 And Body Ground
    G01399638Courtesy of AMERICAN HONDA MOTOR CO., INC.
    Fig 13: Replacing The EVAP Canister Vent Shut Valve
    G01399639Courtesy of AMERICAN HONDA MOTOR CO., INC.

    Is there continuity? 

    YES:  Go to step 28.

    NO:  Replace the EVAP canister vent shut valve (A) and o-ring (B).

  28. Disconnect ECM connector E (31P).
  29. Check for continuity between EVAP canister vent solenoid valve 2P connector terminal No. 2 and body ground.
    Fig 14: Checking For Continuity Between EVAP Canister Vent Solenoid Valve 2P Connector Terminal No. 2 And Body Ground
    G01399640Courtesy of AMERICAN HONDA MOTOR CO., INC.

    Is there continuity? 

    YES:  Repair short in the wire between the EVAP canister vent shut valve and the ECM (E21).

    NO:  Update the ECM if it does not have the latest software, or substitute a known-good ECM, then recheck (see ECM UPDATING AND SUBSTITUTION FOR TESTING ). If the symptom/indication goes away with a known-good ECM, replace the original ECM.

    Vacuum Hoses and Connections Test 

  30. Do the fuel tank vapor control valve test (see FUEL TANK VAPOR CONTROL VALVE TEST ).

    Is the fuel tank vapor control valve OK? 

    YES:  Go to step 31.

    NO:  Replace the fuel tank vapor control valve.

  31. Tighten the fuel cap 3 "clicks", then monitor the FTP sensor readings with the HDS or a scan tool.
  32. Start the engine, and let it idle for 5 minutes.
  33. Check the FTP sensor readings.

    Is the reading above 0.5 kpa (4 mm Hg, 0.16 in. Hg) pressure, or about 3 V? 

    YES:  Update the ECM if it does not have the latest software, or substitute a known-good ECM, then recheck (see ECM UPDATING AND SUBSTITUTION FOR TESTING ). If the symptom/indication goes away with a known-good ECM, replace the original ECM.

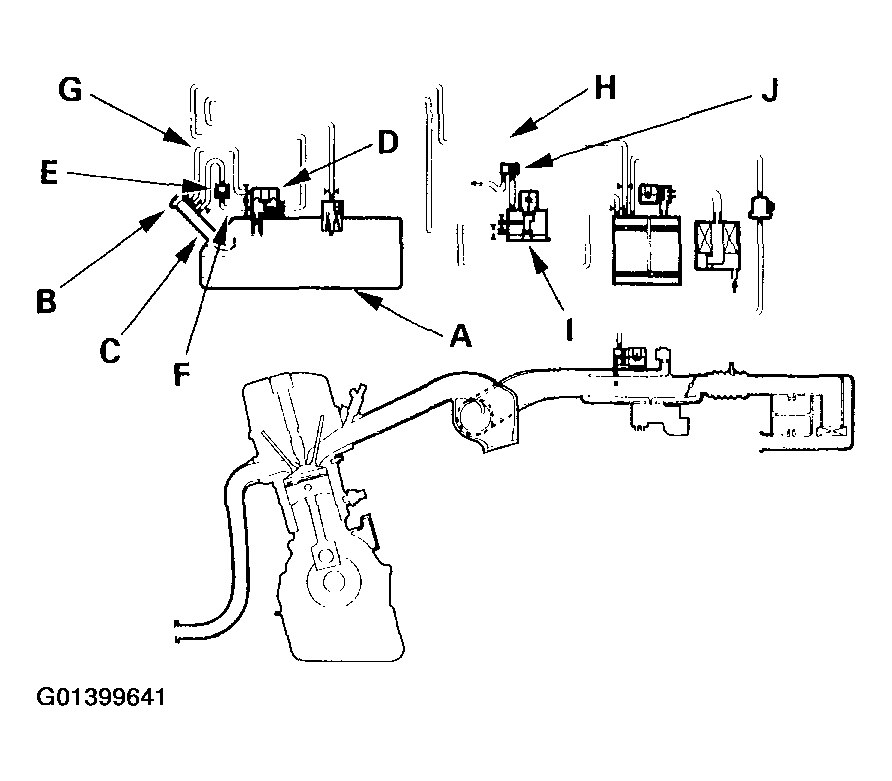
    NO:  Check the following parts for leaks:

    • Fuel tank (A)
    • Fuel fill cap (B)
    • Fuel fill pipe (C)
    • Fuel tank vapor control valve (D)
    • Fuel tank vapor recirculation valve (E)
    • Fuel tank vapor recirculation tube (F)
    • Fuel tank vapor signal tube (G)
    • Fuel tank vapor control vent tube (H)
    • FTP sensor (J)
    Fig 15: Identifying EVAP System Components
    G01399641Courtesy of AMERICAN HONDA MOTOR CO., INC.
    • Repair or replace any leaking parts.