LEMON Manuals: Even more car manuals for everyone: 1960-2025
Home >> Honda >> 2004 >> Insight Automatic CVT >> Repair and Diagnosis (Single Page) >> Transmission >> Automatic Trans >> Continuously Variable Automatic Transmission (CVT) >> CVT >> System Description >> Electronic Control System >> Creep Aid Control
April 5, 2026: LEMON Manuals is launched! Read the announcement.

Creep Aid Control

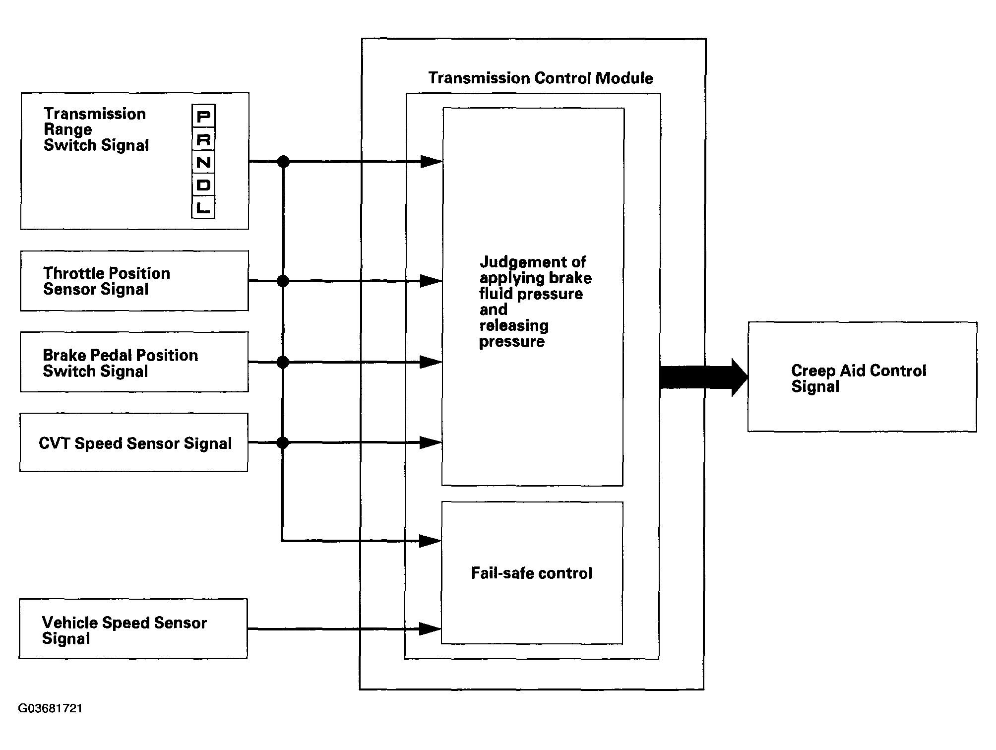
The Creep Aid System prevents the vehicle from moving backwards when the vehicle starts off on an ascending slope after the brake pedal is released.

When the vehicle comes to a stop, the engine is stopped by the auto-stop system under certain conditions. The start clutch is released because the ATF pump does not operate when the engine is stopped.

With the auto-stop system, when the vehicle comes to a stop with the brakes applied on an ascending slope, the TCM turns the creep-aid system solenoid valves A and B ON. This maintains the brake pressure, applied during the stop, to the brakes. When the engine restarts, the TCM turns the creep-aid system solenoid valves A and B OFF releasing the brake system pressure, allowing the vehicle to creep.

Fig 1: Creep Aid Control Functional Diagram
G03681721Courtesy of AMERICAN HONDA MOTOR CO., INC.