LEMON Manuals: Even more car manuals for everyone: 1960-2025
Home >> Honda >> 2004 >> Odyssey V6-3.5L >> Repair and Diagnosis >> Powertrain Management >> Transmission Control Systems >> Description and Operation
April 5, 2026: LEMON Manuals is launched! Read the announcement.

Transmission Control Systems: Description and Operation

Electronic Control System

Functional Diagram





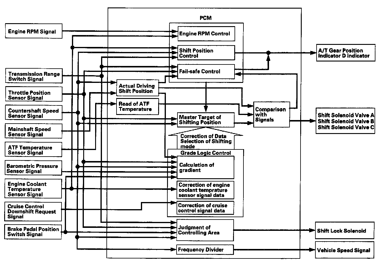
The electronic control system consists of the Powertrain Control Module (PCM), sensors, and solenoid valves. Shifting and lock-up are electronically controlled for comfortable driving under all conditions.
The PCM receives input signals from the sensors, switches, and other control units, perform processing data, and outputs signals for the engine control system and A/T control system. The A/T control system includes shift control, grade logic control, clutch pressure control, and lock-up control is stored in the PCM. The PCM switches the shift solenoid valves and the A/T clutch pressure control solenoid valves to control shifting transmission gears and lock-up torque converter clutch.





Electronic Control Location

Electronic Control System

Shift Control





The PCM instantly determines which gear should be selected by various signals sent from sensors and switches, and it actuates the shift solenoid valves A, B, and C to control shifting.
Also, as Grade Logic Control System has been adopted to control shifting in the D and D3 positions. The PCM compares actual driving conditions with memorized driving conditions, based on the input from the throttle position sensor, the engine coolant temperature sensor, the barometric pressure sensor, the brake pedal position switch signal, and the shift lever position signal, to control shifting while the vehicle is ascending or descending a slope.





The PCM turns on the shift solenoid valves A, B and C to control shifting transmission gear.
The combination of driving signals to shift solenoid valves A, B, and C are shown in the table.

Ascending Control





When the PCM determines that the vehicle is climbing a hill in the D, and D3 positions, the system extends the engagement area of 2nd gear, 3rd gear, and 4th gear to prevent the transmission from frequently shifting between 2nd and 3rd gears, between 3rd and 4th gears, and between 4th and 5th gear, so the vehicle can run smooth and have more power when needed.

NOTE: Shift schedules stored in the PCM between 2nd and 3rd gears, between 3rd and 4th gears, and between 4th and 5th gear, enable to automatically select the most suitable gear according to the magnitude of a gradient.

Descending Control





When the PCM determines that the vehicle is going down a hill in the D, and D3 positions, the shift-up speed from 4th to 5th gear, 3rd to 4th gear and from 2nd to 3rd (when the throttle is closed) becomes faster than the set speed for flat road driving to widen the 4th gear, 3rd gear and 2nd gear driving areas. This, in combination with engine braking from the deceleration lock-up, achieves smooth driving when the vehicle is descending. There are three descending modes with different 4th gear driving areas, 3rd gear driving areas and 2nd gear driving areas according to the magnitude of a gradient stored in the PCM. When the vehicle is in 5th gear or 4th gear, and you are decelerating while applying the brakes on a steep hill, the transmission will downshift to lower gear. When you accelerate, the transmission will then return to higher gear.

Deceleration Control
When the vehicle goes around a corner, and needs to decelerate first and then accelerate, the PCM sets the data for deceleration control to reduce the number of times the transmission shifts. When the vehicle is decelerating from speeds above 37 mph (60 km/h), the PCM shifts the transmission from 5th or 4th to 2nd earlier than normal to cope with upcoming acceleration.

Clutch Pressure Control





The PCM actuates the A/T clutch pressure control solenoid valves A, B, and C to control the clutch pressure. When shifting between lower and higher gears, the clutch pressure regulated by the A/T clutch pressure control solenoid valves A, B, and C engages and disengages the clutch smoothly.
The PCM receives input signals from the various sensors and switches, performs processing data, and outputs a current to the A/T clutch pressure control solenoid valves A, B, and C.

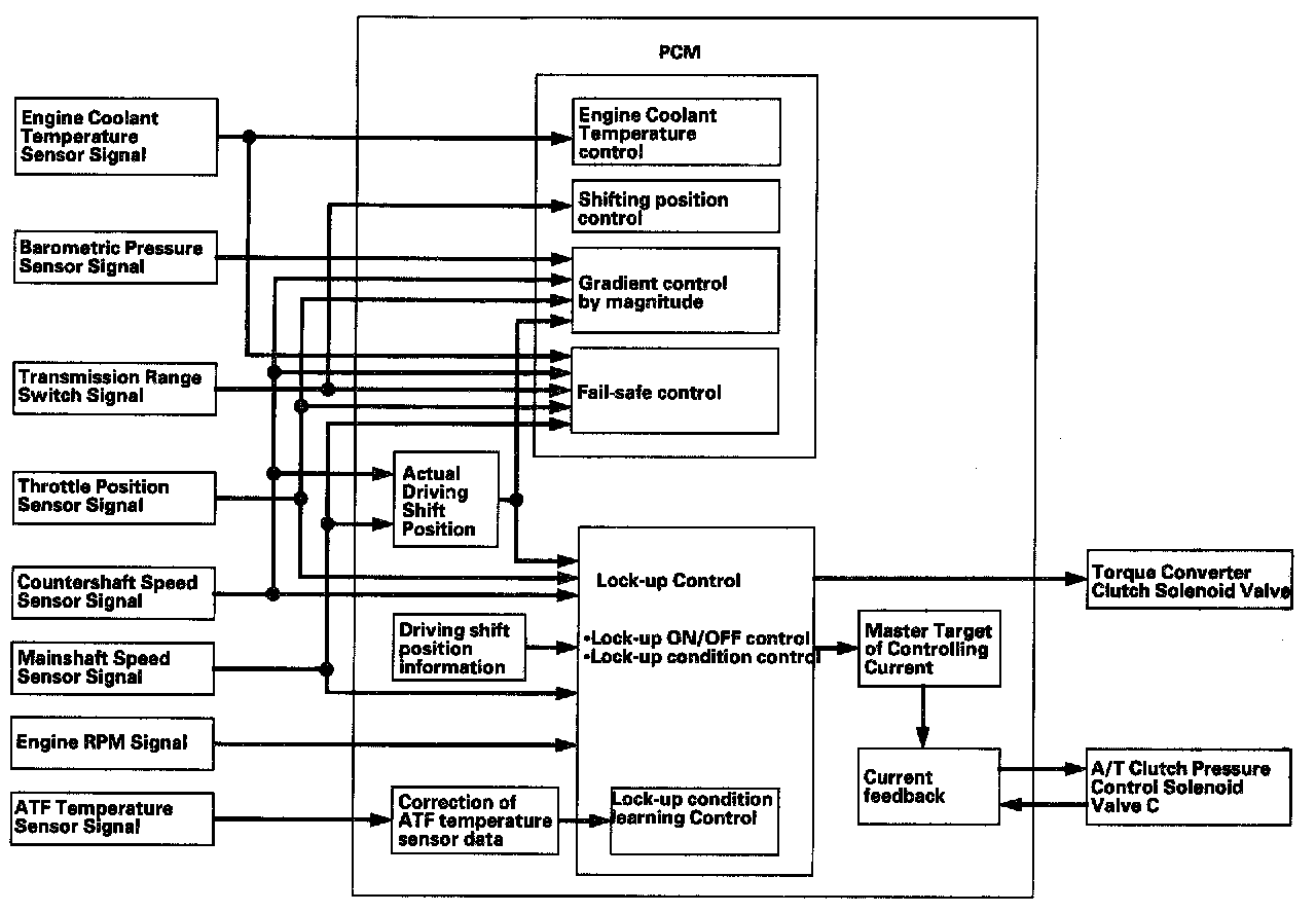
Lock-up Control





The torque converter clutch solenoid valve controls the hydraulic pressure to switch the lock-up shift valve and lock-up ON and OFF. The PCM actuates the torque converter clutch solenoid valve and the A/T clutch pressure control solenoid valve C to control the torque converter clutch lock-up on. When the torque converter clutch solenoid valve ON, the condition of the lock-up starts. The A/T clutch pressure control solenoid valve C regulates and apply the hydraulic pressure to the lock-up control valve to control the volume of the lock-up.
The lock-up mechanism operates in 3rd, 4th, and 5th gears in the D position, and 3rd gear in the D3 position.