LEMON Manuals: Even more car manuals for everyone: 1960-2025
Home >> Honda >> 2004 >> Pilot EX >> Repair and Diagnosis >> Engine Performance >> System >> Fuel Supply System >> Fuel Pump Replacement >> Special Tools Required
April 5, 2026: LEMON Manuals is launched! Read the announcement.

Special Tools Required

Fuel sender wrench 07XAA-001010A

  1. Turn the ignition switch OFF.
  2. Remove the driver's side second row seat (see SECOND ROW SEAT REMOVAL/INSTALLATION ).
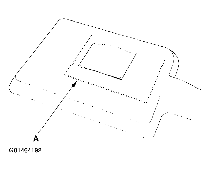
  3. Cut the carpet at the dotted line (A). Be careful not to cut the wire harness under the carpet.
    Fig 1: Cutting The Carpet At The Dotted Line
    G01464192Courtesy of AMERICAN HONDA MOTOR CO., INC.
  4. Remove the access panel (A) from the floor, then disconnect the fuel pump 5P connector (B).
    Fig 2: Removing The Access Panel
    G01464193Courtesy of AMERICAN HONDA MOTOR CO., INC.
  5. Remove the fuel fill cap.
  6. Relieve fuel pressure (see Fuel Pressure Relieving  ).
  7. Disconnect the quick-connect fittings from the fuel pump.
  8. Using the tool, loosen the fuel tank unit locknut (A).
    Fig 3: Loosening The Fuel Tank Unit Locknut
    G01464194Courtesy of AMERICAN HONDA MOTOR CO., INC.
  9. Remove the fuel tank unit (A).
    Fig 4: Removing The Fuel Tank Unit
    G01464195Courtesy of AMERICAN HONDA MOTOR CO., INC.
  10. Remove the bracket (A), the fuel filter (B), the fuel gauge sending unit (C), the housing (D), and the wire harness (E).
    Fig 5: Exploded View Of Fuel Tank Unit
    G01464196Courtesy of AMERICAN HONDA MOTOR CO., INC.
  11. When connecting the fuel pump, make sure the connection is secure and the suction filter (F) is firmly connected to the fuel pump (G).
  12. Check these items before installing the fuel tank unit:
    • When connecting the wire harness, make sure the connection is secure and the connector (H) is firmly locked into place.
    • Do not push the lower part of the suction filter.
    • When installing the fuel gauge sending unit, make sure the connection is secure and the connector is firmly locked into place. Be careful not to bend or twist it excessively.
  13. Install the parts in the reverse order of removal with a new base gasket. When installing the fuel tank unit, align the marks (J) on the unit (K) and the fuel tank (L).