LEMON Manuals: Even more car manuals for everyone: 1960-2025
Home >> Honda >> 2004 >> Pilot EX >> Repair and Diagnosis >> Engine Performance >> System >> VTEC >> DTC Troubleshooting >> DTC P1259: VTEC System Malfunction >> Special Tools Required
April 5, 2026: LEMON Manuals is launched! Read the announcement.

Special Tools Required

  1. Check the engine oil level, and refill it if necessary.
  2. Reset the PCM (see HOW TO RESET THE PCM ).
  3. Start the engine. Hold the engine at 3,000 rpm with no load (in Park or neutral) until the radiator fan comes on.
  4. Road test the vehicle:

    Accelerate in the 2nd position to an engine speed over 4,500 rpm. Hold the speed for at least 2 seconds. If DTC P1259 is not repeated during the first road test, repeat this test two more times.

    Is DTC P1259 indicated? 

    1. YES  -Go to step 5.
    2. NO  -Intermittent failure, the system is OK at this time. Check for poor connections or loose terminals at the VTEC solenoid valve, VTEC oil pressure switch, and at the PCM.
  5. Turn the ignition switch OFF.
  6. Disconnect the VTEC oil pressure switch 2P connector.
  7. Check for continuity between the VTEC oil pressure switch 2P connector terminals No. 1 and No. 2.
    Fig 1: Checking For Continuity Between The VTEC Oil Pressure Switch 2P Connector Terminals No. 1 & No. 2
    G01464109Courtesy of AMERICAN HONDA MOTOR CO., INC.

    Is there continuity? 

    1. YES  -Go to step 8.
    2. NO  -Replace the VTEC oil pressure switch.
  8. Turn the ignition switch ON (II).
  9. Measure the voltage between VTEC oil pressure switch 2P connector terminal No. 1 and body ground.
    Fig 2: Measuring The Voltage Between VTEC Oil Pressure Switch 2P Connector Terminal No. 1 & Body Ground
    G01464110Courtesy of AMERICAN HONDA MOTOR CO., INC.

    Is there battery voltage? 

    1. YES  -Go to step  14.
    2. NO  -Go to step 10.
  10. Measure voltage between PCM connector terminal C10 and body ground.
    Fig 3: Measuring Voltage Between PCM Connector Terminal C10 & Body Ground
    G01464111Courtesy of AMERICAN HONDA MOTOR CO., INC.

    Is there battery voltage? 

    1. YES  -Repair open in the wire between the VTEC oil pressure switch and the PCM (C10).
    2. NO  -Go to step 11.
  11. Turn the ignition switch OFF.
  12. Disconnect PCM connector C (31P).
  13. Check for continuity between PCM connector terminal C10 and body ground.
    Fig 4: Checking For Continuity Between PCM Connector Terminal C10 Body Ground
    G01464112Courtesy of AMERICAN HONDA MOTOR CO., INC.

    Is there continuity? 

    1. YES  -Repair short in the wire between the VTEC oil pressure switch and the PCM (C10).
    2. NO  -Substitute a known-good PCM and recheck (see HOW TO SUBSTITUTE THE PCM FOR TESTING ). If symptom/indication goes away, replace the original PCM.
  14. Measure voltage across the VTEC oil pressure switch harness 2P connector.
    Fig 5: Measuring Voltage Across The VTEC Oil Pressure Switch Harness 2P Connector
    G01464113Courtesy of AMERICAN HONDA MOTOR CO., INC.

    Is there battery voltage? 

    1. YES  -Go to step 15.
    2. NO  -Repair open in the wire between the VTEC oil pressure switch and G101.
  15. Turn the ignition switch OFF.
  16. Disconnect the VTEC solenoid valve 1P connector.
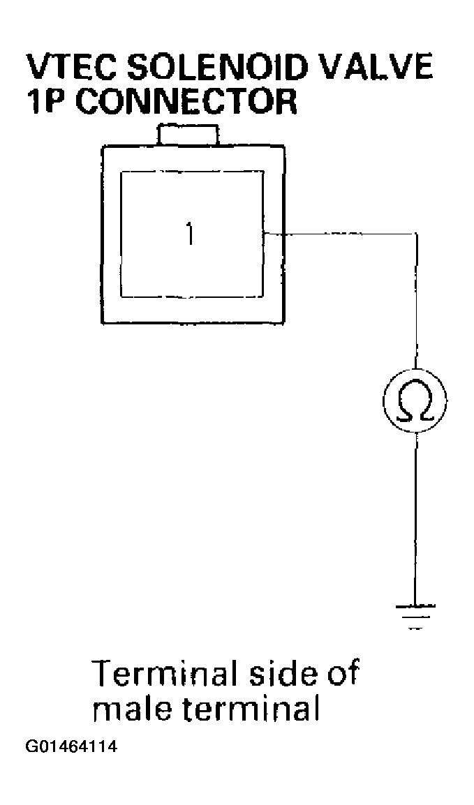
  17. Check for continuity between the VTEC solenoid valve 1P connector terminal and body ground.
    Fig 6: Checking For Continuity Between The VTEC Solenoid Valve 1P Connector Terminal & Body Ground
    G01464114Courtesy of AMERICAN HONDA MOTOR CO., INC.

    Is there 14-30 Ω? 

    1. YES  -Go to step 18.
    2. NO  -Replace the VTEC solenoid valve.
  18. Remove the VTEC oil pressure switch (A) and install the special tools as shown. Then reinstall the VTEC oil pressure switch.
    Fig 7: Installing The Special Tools
    G01464115Courtesy of AMERICAN HONDA MOTOR CO., INC.
  19. Reconnect the VTEC solenoid valve 1P connector and VTEC oil pressure switch 2P connector.
  20. Connect a tachometer.
  21. Start the engine. Hold the engine at 3,000 rpm with no load (in Park or neutral) until the radiator fan comes on.
  22. Check the oil pressure at engine speeds of 1,000, 2,000, and 3,000 rpm. Keep the measuring time as short as possible because the engine is running with no load (less than 1 minute).

    Is the oil pressure below 49 kPa (0.5 kgf/cm 2  , 7 psi)? 

    1. YES  -Go to step 23.
    2. NO  -Inspect the VTEC solenoid valve (see VTEC Solenoid Valve Test  ).
  23. Turn the ignition switch OFF.
  24. Disconnect the VTEC solenoid valve 1P connector.
  25. Attach the battery positive terminal to the VTEC solenoid valve terminal.
  26. Start the engine, and check the oil pressure at an engine speed of 3,000 rpm.

    Is the oil pressure above 390 kPa (4.0 kgf/cm 2  , 57 psi)? 

    1. YES  -Go to step 27.
    2. NO  -Inspect the VTEC solenoid valve (see VTEC Solenoid Valve Test  ).
  27. With the battery positive terminal still connected to the VTEC solenoid valve, measure voltage between PCM connector C10 and body ground.
    Fig 8: Measuring Voltage Between PCM Connector C10 & Body Ground
    G01464116Courtesy of AMERICAN HONDA MOTOR CO., INC.

    Is there battery voltage above 4,500 rpm? 

    1. YES  -Go to step 28.
    2. NO  -Replace the VTEC oil pressure switch.
  28. Turn the ignition switch OFF.
  29. Disconnect the battery positive terminal from the VTEC solenoid valve terminal.
  30. Disconnect PCM connector B (25P).
  31. Check for continuity between PCM connector terminal B12 and body ground.
    Fig 9: Checking For Continuity Between PCM Connector Terminal B12 & Body Ground
    G01464117Courtesy of AMERICAN HONDA MOTOR CO., INC.

    Is there continuity? 

    1. YES  -Repair short in the wire between the VTEC solenoid valve and the PCM (B12).
    2. NO  -Go to step 32.
  32. Connect the VTEC solenoid valve 1P connector terminal No. 1 to body ground with a jumper wire.
    Fig 10: Connecting The VTEC Solenoid Valve 1P Connector Terminal No. 1 To Body Ground With A Jumper Wire
    G01464118Courtesy of AMERICAN HONDA MOTOR CO., INC.
  33. Check for continuity between PCM connector terminal B12 and body ground.
    Fig 11: Checking For Continuity Between PCM Connector Terminal B12 & Body Ground
    G01464119Courtesy of AMERICAN HONDA MOTOR CO., INC.

    Is there continuity? 

    1. YES  -Substitute a known-good PCM and recheck (see HOW TO SUBSTITUTE THE PCM FOR TESTING ). If the symptom/indication goes away, replace the original PCM.
    2. NO  -Repair open in the wire between the VTEC solenoid valve and the PCM (B12).