LEMON Manuals: Even more car manuals for everyone: 1960-2025
Home >> Honda >> 2004 >> Pilot LX >> Repair and Diagnosis >> Engine Mechanical >> Starters >> Bench Testing >> Brushes & Spring Test
April 5, 2026: LEMON Manuals is launched! Read the announcement.

Brushes & Spring Test

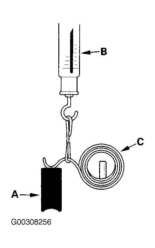
Insert the brush (A) into the brush holder, and bring the brush into contact with the commutator, attach a spring scale (B) to the spring (C). Measure the spring tension at the moment the spring lifts off the brush. See Fig 1. If the spring tension is not within specification, replace the spring. See STARTER SPECIFICATIONS .

Fig 1: Measuring Brush Spring Tension
G00308256Courtesy of AMERICAN HONDA MOTOR CO., INC.