LEMON Manuals: Even more car manuals for everyone: 1960-2025
Home >> Honda >> 2004 >> Pilot V6-3.5L >> Repair and Diagnosis >> Heating and Air Conditioning >> Control Assembly >> Service and Repair >> Heater Control Panel
April 5, 2026: LEMON Manuals is launched! Read the announcement.

Heater Control Panel

Heater Control Panel Removal and Installation

1. Remove the center front covers and the center lower cover.




2. Remove the screws, and remove the heater control panel (A) with the brackets from the dashboard, then disconnect the connector (B).




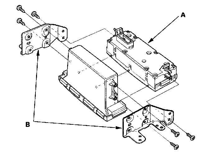
3. Remove the screws and the heater control panel (A) from the brackets (B).
4. Install the control panel in the reverse order of removal. After installation, operate the control panel controls to see whether it works properly.
5. Run the self-diagnoses function to confirm that there are no problems in the system.