LEMON Manuals: Even more car manuals for everyone: 1960-2025
Home >> Honda >> 2004 >> Pilot V6-3.5L >> Repair and Diagnosis >> Relays and Modules >> Relays and Modules - Brakes and Traction Control >> Electronic Brake Control Module >> Description and Operation
April 5, 2026: LEMON Manuals is launched! Read the announcement.

Electronic Brake Control Module: Description and Operation

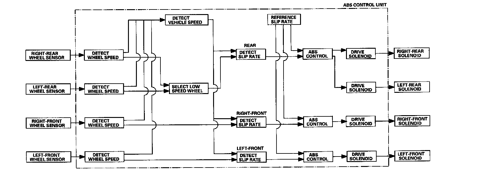
ABS Control Unit
Main Control





The ABS control unit detects the wheel speed based on the wheel sensor signal it received, then it calculates the vehicle speed based on the detected wheel speed. The control unit detects the vehicle speed during deceleration based on the rate of deceleration.

The ABS control unit calculates the slip rate of each wheel and transmits the control signal to the modulator unit solenoid valve when the slip rate is high.

The pressure reduction control has three modes: pressure reducing, pressure retaining, and pressure intensifying.

Self-diagnosis Function
1. The ABS control unit is equipped with a main CPU and a sub-CPU. Each CPU checks the other for problems.
2. The CPUs check the circuit of the system.
3. The ABS control unit turns on the ABS indicator when the unit detects a problem and the unit stops the system.
4. The self-diagnosis can be classified into these two categories:
^ Initial diagnosis
^ Regular diagnosis

On-board Diagnosis Function
The ABS can be diagnosed with the Honda PGM Tester.

The ALB Checker cannot be used with this system. For air bleeding and checking wheel sensor signals, use the Honda PGM Tester. See the Honda PGM Tester user's manual for specific operating instructions.