LEMON Manuals: Even more car manuals for everyone: 1960-2025
Home >> Honda >> 2004 >> S2000 L4-2.2L >> Repair and Diagnosis >> Heating and Air Conditioning >> Heater Core >> Service and Repair
April 5, 2026: LEMON Manuals is launched! Read the announcement.

Heater Core: Service and Repair

Heater Unit/Core Replacement

SRS components are located in this area. Review the SRS component locations, precautions, and procedures in the SRS section before performing repairs or service.

1. Make sure you have the anti-theft code for the radio, then write down the frequencies for the radio's preset buttons.
2. Disconnect the negative cable from the battery.
3. Remove the heat shield of the exhaust manifold.




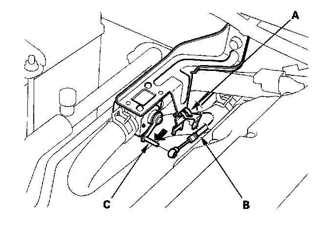
4. From under the hood, open the cable clamp (A), then disconnect the heater valve cable (B) from the heater valve arm (C). Turn the heater valve arm to the fully opened position as shown.
5. When the engine is cool, drain the engine coolant from the radiator.




6. Remove the mounting bolt from the heater valve. Slide the hose clamps (A) back, then disconnect the inlet heater hose (B) and the outlet heater hose (C) from the heater unit. Engine coolant will run out when the hoses are disconnected; drain it into a clean drip pan. Be sure not to let coolant spill on the electrical parts or the painted surfaces. If any coolant spills, rinse it off immediately.




7. Remove the mounting nut from the heater unit. Take care not to damage or bend the fuel lines, the brake lines, etc.
8. Remove the dashboard.
9. Remove the blower/evaporator unit.




10. Remove the mounting bolts, the center brackets (A), and the audio brackets (B).
11. Remove the SRS unit.




12. Remove the self-tapping screws and the defroster outlet (A), then remove the wire harness clips (B).




13. Disconnect the connectors (A) from the mode control motor and the air mix control motor, then remove the wire harness clip (B). Remove the mounting nuts, the mounting bolt, and the heater unit (C).




14. Remove the self-tapping screw and the passenger's heater outlet (A), then remove the self-tapping screw and the clamp (B). Be careful not to bend the inlet and outlet pipes during the heater core (C) removal, and pull out the heater core.
15. Install the heater core in the reverse order of removal.
16. Install the heater unit in the reverse order of removal, and note these items:
- Do not interchange the inlet and outlet heater hoses, and install the hose clamps securely.
- Refill the cooling system with engine coolant.
- Adjust the heater valve cable.
- Make sure that there is no coolant leakage.
- Make sure that there is no air leakage.
- For evaporator and A/C-related information, refer to blower/evaporator unit removal and installation.
- Do the ECM idle learn procedure.
- Enter the anti-theft code for the radio, then enter the customer's radio station presets.
- For '01-03 models, reset the clock.