LEMON Manuals: Even more car manuals for everyone: 1960-2025
Home >> Honda >> 2005 >> CR-V 2WD L4-2.4L >> Repair and Diagnosis >> Powertrain Management >> Transmission Control Systems >> Testing and Inspection >> Component Tests and General Diagnostics >> Component Tests >> D3 Switch Test & Replacement
April 5, 2026: LEMON Manuals is launched! Read the announcement.

D3 Switch Test & Replacement

D3 Switch Test/Replacement
1. Remove the driver's dashboard lower cover and the instrument panel.





2. Disconnect the D3 switch/shift lock solenoid/park pin switch connector.
3. Check for continuity between the No. 5 and No. 6 terminals of the D3 switch/shift lock solenoid/park pin switch connector while pushing the D3 switch, and when the switch is released.
4. If the D3 switch is OK, connect the connector and install the removed parts. If the switch is faulty, go to step 5 for the D3 switch replacement.
5. Shift the shift lever to the R position.





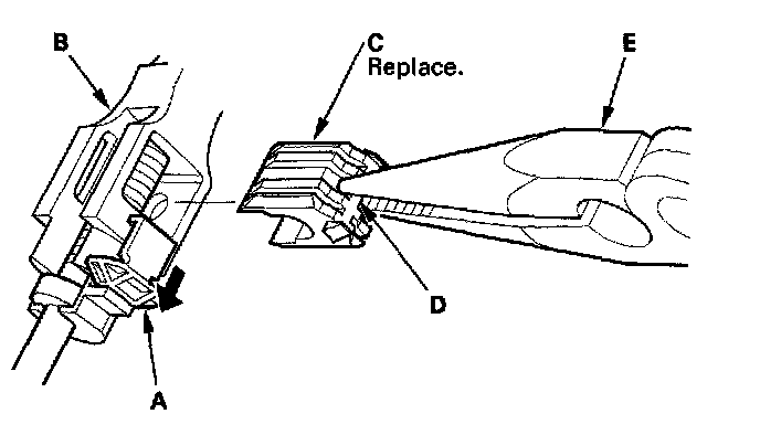
6. Slide the lock tab (A) down on the shift cable and holder (B).
7. Grasp the shift cable lock (C) in the middle (D) with needle-nose pliers (E), then remove it from the shift cable end and shift cable end holder.

NOTE: Do not pry the shift cable lock with a screwdriver, it may damage the shift cable end holder.

8. Separate the shift cable end from the shift cable end holder.





9. Rotate the socket holder (A) on the shift cable (B) a quarter turn; the tab (C) on the socket holder will be in the opening (D) of the socket holder bracket (E). Then slide the holder to remove the shift cable from the socket holder bracket.

NOTE: Do not remove the shift cable by twisting the shift cable guide (F) and damper (G).





10. Remove the shift lever assembly.
11. Remove the harness from the harness clamp on the shift lever bracket base, and remove the harness band from the harness.





12. Pry the lock tabs on the D3 switch/shift lock solenoid/park pin switch connector (A), and remove the lock (B).
13. Remove the terminal (C) from the connector by pushing the lock tab (D) up in the connector using a thin blade screwdriver (E). Remove all six terminals.





14. Remove the shift lever knob (A), then remove the D3 switch (B) from the knob.





15. Remove the D3 switch connector terminals by pushing the lock tabs in the connector with a thin blade screwdriver.





16. Pull the D3 switch harness wires (A) from shift lever bracket side, and remove them. Leave the harness tube (B) and remove only the wires.





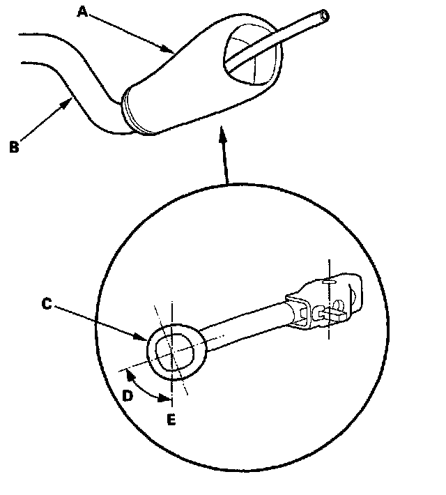
17. Install the shift lever knob (A) on the shift lever (B), and align the opening (C) of the switch so it is inclined 50° (D) toward the vertical axis (E).





18. Insert the new D3 switch harness wires (A) in the original harness tube (B), then tie a string (C) around the tube to secure the terminals in the tube.





19. Pull the old tube out of the shift lever knob side to install the D3 switch harnesses.
20. Remove the old harness tube from the D3 switch harness terminals.





21. Install the D3 switch harness terminals in the new D3 switch. Either harness terminal can be installed in either cavity.
22. Install the new D3 switch in the shift lever knob.





23. Install the D3 switch harness terminals (A) in the No. 5 and No. 6 cavities. Either D3 switch harness terminal can be installed in the No. 5 and No. 6 cavities.
24. Install the park pin switch harness terminals (B) in the No. 1 and No. 2 cavities. Either park pin switch harness terminal can be installed in the No. 1 and No. 2 cavities.
25. Install the BLK harness terminal (C) of the shift lock solenoid in the No. 3 cavity, and the RED harness terminal (D) in the No. 4 cavity. Make sure that the all six terminals lock securely, then install the lock (E) securely in place.





26. Align the marks (A) on the harnesses, and tie the harness band (B) over the marks. Clamp the D3 switch harness (C) 15 mm (0.6 inch) (D) from the harness band.
27. Install the shift lever assembly.
28. Check that the D3 switch operates.