LEMON Manuals: Even more car manuals for everyone: 1960-2025
Home >> Honda >> 2005 >> CR-V SE >> Repair and Diagnosis >> Transmission >> Automatic Trans >> Automatic Transmission >> A/T Interlock System >> Park Pin Switch Test/Replacement
April 5, 2026: LEMON Manuals is launched! Read the announcement.

Park Pin Switch Test/Replacement

  1. Remove the driver's dashboard lower cover (see DRIVER'S DASHBOARD LOWER COVER REMOVAL/INSTALLATION ) and the instrument panel (see INSTRUMENT PANEL REMOVAL/INSTALLATION ).
  2. Disconnect the D3 switch/shift lock solenoid/park pin switch connector.
    Fig 1: Disconnecting D3 Switch/Shift Lock Solenoid/Park Pin Switch Connector
    G03674984Courtesy of AMERICAN HONDA MOTOR CO., INC.
  3. Check for continuity between D3 switch/shift lock solenoid/park pin switch connector terminals No. 1 and No. 2 while the shift lever is in the P position, and when shift lever out of P or pushed to the left.
    • In the P position, there should be no continuity.
    • When out of the P position or pushed to the left, there should be continuity.

    If the park pin switch is OK, connect the connector and install the removed parts.

    If the park pin switch is faulty, go to step 4 for replacement.

  4. Shift the shift lever to the R position.
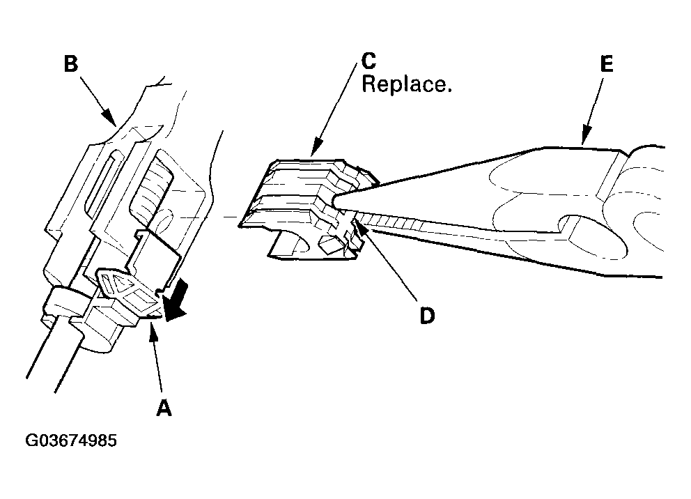
  5. Slide the lock tab (A) down on the shift cable end holder (B).
    Fig 2: Sliding Lock Tab Down On Shift Cable End Holder
    G03674985Courtesy of AMERICAN HONDA MOTOR CO., INC.
  6. Grasp the shift cable lock (C) in the middle (D) with needle-nose pliers (E), and remove it from the shift cable end and shift cable end holder.
    NOTE: Do not pry the shift cable lock with a screwdriver, it may damage the shift cable end holder.
  7. Separate the shift cable end from the shift cable end holder.
  8. Rotate the socket holder (A) on the shift cable (B) a quarter turn; the tab (C) on the socket holder will be in the opening (D) of the socket holder bracket (E). Then slide the holder to remove the shift cable from the socket holder bracket.
    NOTE: Do not remove the shift cable by twisting the shift cable guide (F) and damper (G).
    Fig 3: Removing Shift Cable From Socket Holder Bracket
    G03674986Courtesy of AMERICAN HONDA MOTOR CO., INC.
  9. Remove the shift lever assembly.
    Fig 4: Removing Shift Lever Assembly
    G03674987Courtesy of AMERICAN HONDA MOTOR CO., INC.
  10. Remove the harness from the harness clamp on the shift lever bracket base, and remove the harness band from the harness.
  11. Pry the lock tabs on the D3 switch/shift lock solenoid/park pin switch connector (A), and release the lock (B).
    Fig 5: Prying Lock Tabs On D3 Switch/Shift Lock Solenoid/Park Pin Switch Connector
    G03674988Courtesy of AMERICAN HONDA MOTOR CO., INC.
  12. Remove the terminal (C) from the connector by pushing the lock tab (D) up in the connector using a thin blade screwdriver (E). Remove all six terminals.
  13. Remove the shift lever cover.
  14. Remove the control checker (A) from the shift lever, and remove the park pin switch from the control checker.
    Fig 6: Removing Control Checker From Shift Lever And Park Pin Switch From Control Checker With Torque Specifications
    G03674989Courtesy of AMERICAN HONDA MOTOR CO., INC.
  15. Install the new park pin switch (B) by aligning its tab (C) with the positioning hole (D) on the control checker. Apply non-hardening thread lock sealant to the screw (E), then secure the park pin switch with the screw.
  16. Install the control checker on the shift lever.
  17. Route the harnesses, and clamp them as shown.
    Fig 7: Routing And Clamping Harnesses
    G03674990Courtesy of AMERICAN HONDA MOTOR CO., INC.
  18. Install the D3 switch harness terminals (A) in the No. 5 and No. 6 cavities. Either D3 switch harness terminal can be installed in the No. 5 and No. 6 cavities.
    Fig 8: Installing D3 Switch Harness Terminals
    G03674991Courtesy of AMERICAN HONDA MOTOR CO., INC.
  19. Install the park pin switch harness terminals (B) in the No. 1 and No. 2 cavities. Either park pin switch harness terminal can be installed in the No. 1 and No. 2 cavities.
  20. Install the BLK harness terminal (C) of the shift lock solenoid in the No. 3 cavity, and the RED harness terminal (D) in the No. 4 cavity. Make sure that all six terminals lock securely, then install the lock (E) securely.
  21. Align the marks (A) on the harnesses, and tie the harness band (B) over the marks. Clamp the D3 switch harness (C) 15 mm (0.6 in.) (D) from the harness band.
    Fig 9: Fixing Harness Band
    G03674992Courtesy of AMERICAN HONDA MOTOR CO., INC.
  22. Install the shift lever cover.
  23. Install the shift lever assembly (see SHIFT LEVER INSTALLATION  ).
  24. Check that the park pin switch operates.