LEMON Manuals: Even more car manuals for everyone: 1960-2025
Home >> Honda >> 2005 >> CR-V SE >> Repair and Diagnosis >> Transmission >> Automatic Trans >> Automatic Transmission >> Transfer Assembly >> Reassembly
April 5, 2026: LEMON Manuals is launched! Read the announcement.

Transfer Assembly: Reassembly

Special Tools Required 

NOTE:
  • While reassembling the transfer assembly:
    • Check and adjust the transfer gear tooth contact.
    • Measure and adjust the transfer gear backlash.
    • Check and adjust the tapered roller bearing starting torque.
  • Coat all parts with ATF during reassembly.
  • Replace the tapered roller bearing and the bearing outer race as a set if either part is replaced.
  • Replace the transfer drive gear and the transfer output shaft as a set if either part is replaced.
  1. Select the 35 mm thrust shim if the transfer output shaft is replaced. Calculate the thickness of the 35 mm thrust shim using the formula, and select the shim from the table.
    NOTE: The number on the transfer output shaft is shown in 1/100 mm.

    FORMULA: X = A/100 - B/100 + C 

    A: Number on the existing transfer output shaft 

    B: Number on the replacement transfer output shaft 

    C: Thickness of the existing 35 mm thrust shim 

    X: Thickness needed for the replacement 35 mm thrust shim 

    Example: 

    Fig 1: View Of Transfer Output Shaft
    G03675196Courtesy of AMERICAN HONDA MOTOR CO., INC.

    X = A/100 - B/100 + C = 2/100 - -1/100 + 1.05 = 0.02 + 0.01 = 1.05 = 1.08 mm 

    Select No. M 35 mm thrust shim of 1.08 mm in this cause.

    THRUST SHIM THICKNESS SPECIFICATIONS (35 MM)

    Shim No. Part Number Thickness
    A 41361-PS3-000 0.72 mm (0.028 in.)
    B 41362-PS3-000 0.75 mm (0.030 in.)
    C 41363-PS3-000 0.78 mm (0.031 in.)
    D 41364-PS3-000 0.81 mm (0.032 in.)
    E 41365-PS3-000 0.84 mm (0.033 in.)
    F 41366-PS3-000 0.87 mm (0.034 in.)
    G 41367-PS3-000 0.90 mm (0.035 in.)
    H 41368-PS3-000 0.93 mm (0.037 in.)
    I 41369-PS3-000 0.96 mm (0.038 in.)
    J 41370-PS3-000 0.99 mm (0.039 in.)
    K 41371-PS3-000 1.02 mm (0.040 in.)
    L 41372-PS3-000 1.05 mm (0.041 in.)
    M 41373-PS3-000 1.08 mm (0.043 in.)
    N 41374-PS3-000 1.11 mm (0.044 in.)
  2. Select the 35 mm thrust shim if the tapered roller bearing on the transfer output shaft is replaced. Measure the thickness of the replacement bearing and the existing bearing, and calculate the difference of the bearing thickness. Adjust the thickness of the existing 35 mm thrust shim by the amount of the difference in bearing thickness, and select the replacement 35 mm thrust shim from the table.
  3. Install the 35 mm thrust shim (A) on the transfer output shaft (B), then install the tapered roller bearing (C) with the special tools and a press.
    Fig 2: Installing Thrust Shim On Transfer Output Shaft
    G03675197Courtesy of AMERICAN HONDA MOTOR CO., INC.
  4. Place the tapered roller bearing (A) on the bearing outer race of the companion flange side of the transfer housing.
    Fig 3: Placing Tapered Roller Bearing On Companion Flange Bearing Outer Race
    G03675198Courtesy of AMERICAN HONDA MOTOR CO., INC.
  5. Install the new oil seal (B) on the transfer housing with the special tools and a press.
  6. Install the transfer output shaft (A) in the transfer housing (B). Do not install the transfer spacer on the transfer output shaft.
    Fig 4: Installing Transfer Output Shaft In Transfer Housing
    G03675199Courtesy of AMERICAN HONDA MOTOR CO., INC.
  7. Install the companion flange (A), conical spring washer (B), and locknut (C) on the transfer output shaft (D). Do not install the O-ring and back-up ring.
    Fig 5: Installing Companion Flange, Conical Spring Washer And Locknut On Transfer Output Shaft
    G03675200Courtesy of AMERICAN HONDA MOTOR CO., INC.
  8. Secure the transfer housing (A) in a bench vise (B) with soft jaws. To prevent damage to the transfer housing, always use soft jaws or equivalent materials between the transfer housing and the vise.
    Fig 6: Measuring Starting Torque
    G03675201Courtesy of AMERICAN HONDA MOTOR CO., INC.
  9. Install the special tool on the companion flange.
  10. Tighten the locknut while measuring the starting torque so the starting torque is within 0.98-1.39 N.m (10.0-14.2 kgf.cm, 8.7-12.3 lbf.in.). Do not stake the locknut in this step.
  11. Install the transfer shaft (A) in the transfer holder (B), and install the transfer drive gear (C), transfer collar (D), 25 mm thrust shim (E), tapered roller bearing (F), conical spring washer (G), and locknut (H).
    Fig 7: Installing Transfer Shaft Transfer Drive Gear, Transfer Collar, Thrust Shim, Tapered Roller Bearing And Locknut
    G03675202Courtesy of AMERICAN HONDA MOTOR CO., INC.
  12. Put a 14 mm hex wrench (A) in the transfer shaft (B), then secure the hex wrench in a bench vise.
    Fig 8: Placing Hex Wrench In Transfer Shaft
    G03675203Courtesy of AMERICAN HONDA MOTOR CO., INC.
  13. Tighten the locknut 118 N.m (12.0 kgf.m, 86.8 lbf.ft). Do not stake the locknut in this step.
  14. Apply Prussian Blue to both sides of the transfer drive gear teeth lightly and evenly.
  15. Temporarily install the transfer holder (A) and dowel pin (B) without O-ring, and tighten the bolts.
    Fig 9: Installing Transfer Holder And Dowel Pin With Torque Specifications
    G03675204Courtesy of AMERICAN HONDA MOTOR CO., INC.
  16. Rotate the companion flange in both directions until the transfer gears rotate one full turn in both directions.
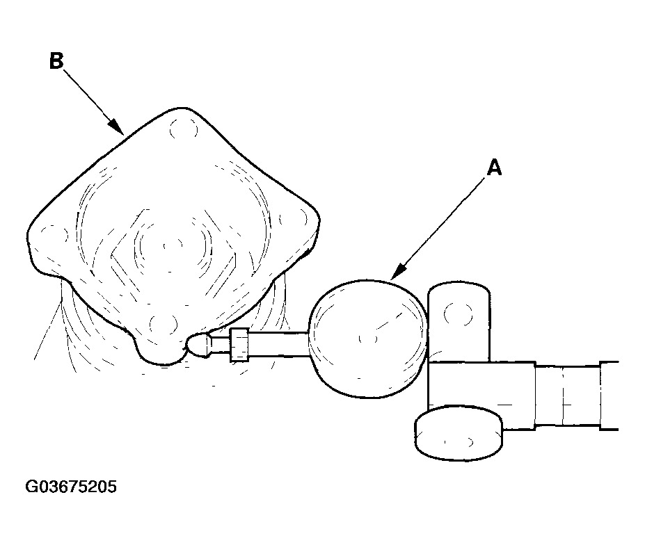
  17. Set a dial indicator (A) on the companion flange (B).
    Fig 10: Setting Dial Indicator On Companion Flange
    G03675205Courtesy of AMERICAN HONDA MOTOR CO., INC.
  18. Measure the transfer gear backlash.

    Standard: 0.06-0.16 mm (0.02-0.06 in.) 

  19. Remove the transfer holder, and check the transfer drive gear tooth contact pattern.
    Fig 11: Inspecting Transfer Drive Gear Tooth Contact Pattern
    G03675206Courtesy of AMERICAN HONDA MOTOR CO., INC.
  20. If the backlash measurement is out of standard, adjust the backlash with the 35 mm thrust shim and recheck. Do not use more than two 35 mm thrust shims to adjust the backlash.
  21. If the transfer gear tooth contact is incorrect, adjust the tooth contact with the 25 mm or 35 mm thrust shim. Do not use more than two of each thrust shim to adjust the tooth contact.
    • Toe Contact

      Use a thicker 35 mm thrust shim to move the transfer output shaft toward the transfer drive gear. Because this movement causes the transfer gear backlash to change, move the transfer drive gear away from the transfer output shaft to adjust the transfer gear backlash as follows:

      • Increase the thickness of the 25 mm thrust shim.
      • Reduce the thickness of the 68 mm thrust shim by the amount you increased the 25 mm thrust shim.
    • Heel Contact

      Use a thinner 35 mm thrust shim to move the transfer output shaft away from the transfer drive gear. Because this movement causes the transfer gear backlash to change, move the transfer drive gear toward the transfer output shaft to adjust the transfer gear backlash as follows:

      • Reduce the thickness of the 25 mm thrust shim.
      • Increase the thickness of the 68 mm thrust shim by amount you reduced the thickness of the 25 mm thrust shim.
    • Flank Contact

      Use a thinner thrust shim to move the transfer drive gear toward the transfer output shaft. Flank contact must be adjusted within the limits of the transfer gear backlash. If the backlash exceeds the limits, adjust as described under Heel Contact.

    • Face Contact

      Use a thicker thrust shim to move the transfer drive gear away from the transfer output shaft. Face contact must be adjusted within the limits of the transfer gear backlash. If the backlash exceeds the limits, adjust as described under Toe Contact.

      THRUST SHIM THICKNESS SPECIFICATIONS (25 MM)

      Shim No. Part Number Thickness
      1.70 29411-P1C-000 1.70 mm (0.067 in.)
      1.73 29412-P1C-000 1.73 mm (0.068 in.)
      1.76 29413-P1C-000 1.76 mm (0.069 in.)
      1.79 29414-P1C-000 1.79 mm (0.070 in.)
      1.82 29415-P1C-000 1.82 mm (0.072 in.)
      1.85 29416-P1C-000 1.85 mm (0.073 in.)
      1.88 29417-P1C-000 1.88 mm (0.074 in.)
      1.91 29418-P1C-000 1.91 mm (0.075 in.)
      1.94 29419-P1C-000 1.94 mm (0.076 in.)
      1.97 29420-P1C-000 1.97 mm (0.078 in.)
      2.00 29421-P1C-000 2.00 mm (0.079 in.)
      2.03 29422-P1C-000 2.03 mm (0.080 in.)
      2.06 29423-P1C-000 2.06 mm (0.081 in.)
      2.09 29424-P1C-000 2.09 mm (0.082 in.)
      2.12 29425-P1C-000 2.12 mm (0.083 in.)
      2.15 29426-P1C-000 2.15 mm (0.085 in.)
      2.18 29427-P1C-000 2.18 mm (0.086 in.)
      2.21 29428-P1C-000 2.21 mm (0.087 in.)
      2.24 29429-P1C-000 2.24 mm (0.088 in.)
  22. Remove the transfer holder (A) from the transfer housing (B) after adjusting the transfer gear backlash or transfer gear tooth contact.
    Fig 12: Removing Transfer Holder From Transfer Housing
    G03675207Courtesy of AMERICAN HONDA MOTOR CO., INC.
  23. Secure the transfer housing (A) in a bench vise (B) with soft jaws. To prevent damage to the transfer housing, always use soft jaws or equivalent materials between the transfer housing and the vise.
    Fig 13: Securing Transfer Housing In Bench Vise
    G03675208Courtesy of AMERICAN HONDA MOTOR CO., INC.
  24. Install the special tool on the companion flange, then loosen the locknut.
  25. Remove the locknut (A), conical spring washer (B), and companion flange (C) from the transfer output shaft (D).
    Fig 14: Removing Locknut, Conical Spring Washer And Companion Flange From Transfer Output Shaft
    G03675209Courtesy of AMERICAN HONDA MOTOR CO., INC.
  26. Remove the transfer output shaft (A) from the transfer housing (B).
    Fig 15: Removing Transfer Output Shaft From Transfer Housing
    G03675210Courtesy of AMERICAN HONDA MOTOR CO., INC.
  27. Install the new transfer spacer (C) on the transfer output shaft in the direction shown, and install them in the transfer housing.
  28. Coat the threads of the locknut and transfer output shaft with ATF.
  29. Install the companion flange (A), new O-ring (B), back-up ring (C), new conical spring washer (D), and new locknut (E) on the transfer output shaft (F). Install the conical spring washer in the direction shown.
    Fig 16: Installing Companion Flange, O-Ring, Back-Up Ring, Conical Spring Washer And Locknut
    G03675211Courtesy of AMERICAN HONDA MOTOR CO., INC.
  30. Secure the transfer housing (A) in a bench vise (B) with soft jaws. To prevent damage to the transfer housing, always use soft jaws or equivalent materials between the transfer housing and the vise.
    Fig 17: Measuring Transfer Output Shaft Starting Torque
    G03675212Courtesy of AMERICAN HONDA MOTOR CO., INC.
  31. Install the special tool on the companion flange.
  32. Tighten the locknut while measuring the starting torque of the transfer output shaft.

    Starting torque: 

    0.98-1.39 N.m (10.0-14.2 kgf.cm, 8.7-12.3 lbf.in.) 

    Tightening torque: 

    132-260 N.m (13.5-26.5 kgf.m, 97.6-192 lbf.ft) 

    NOTE:
    • Rotate the companion flange several turns to seat the tapered roller bearings, then measure the starting torque.
    • If the starting torque exceeds 1.39 N.m (14.2 kgf.cm, 12.3 lbf.in.), replace the transfer spacer and reassemble the parts. Do not adjust the starting torque with the locknut loose.
    • If the tightening torque exceeds 260 N.m (26.5 kgf.m, 192 lbf.ft), replace the transfer spacer and reassemble the parts.
  33. Remove the special tool.
  34. Stake the locknut into the transfer output shaft in depth (A) of 0.7-1.2 mm (0.03-0.05 in.) using a 3.5 mm punch (B).
    Fig 18: Staking Locknut Into Transfer Output Shaft
    G03675213Courtesy of AMERICAN HONDA MOTOR CO., INC.
  35. Temporarily install the transfer holder (A) and dowel pin (B) without the O-ring, and tighten the bolts.
    Fig 19: Installing Transfer Holder And Dowel Pin With Torque Specifications
    G03675214Courtesy of AMERICAN HONDA MOTOR CO., INC.
  36. Secure the transfer housing (A) in a bench vise (B) with soft jaws. To prevent damage to the transfer housing, always use soft jaws or equivalent materials between the transfer housing and the vise.
    Fig 20: Measuring Companion Flange Starting Torque
    G03675215Courtesy of AMERICAN HONDA MOTOR CO., INC.
  37. Rotate the companion flange several times to seat the tapered roller bearings.
  38. Measure the starting torque at the companion flange (C) using a torque wrench (D).

    Standard: 2.75-4.22 N.m (28.1-43.1 kgf.cm, 24.4-37.4 lbf.in.) 

  39. Remove the transfer holder from the transfer housing.
  40. If the measurement is within the standard, go to step  53.
  41. If the measurement is out of standard, put a 14 mm hex wrench (A) in the transfer shaft (B), then secure the hex wrench in a bench vise.
    Fig 21: Inserting Hex Wrench In Transfer Shaft
    G03675216Courtesy of AMERICAN HONDA MOTOR CO., INC.
  42. Loosen the locknut.
  43. Remove the locknut (A) and conical spring washer (B).
    Fig 22: Removing Locknut And Conical Spring Washer
    G03675217Courtesy of AMERICAN HONDA MOTOR CO., INC.
  44. Remove the tapered roller bearing (C), 25 mm thrust shim (D), transfer collar (E), transfer drive gear (F), and transfer shaft (G) from the transfer holder (H).
  45. Remove the tapered roller bearing outer race (A) and the 68 mm thrust shim (B) from the transfer holder (C).
    Fig 23: Removing Tapered Roller Bearing Outer Race And Thrust Shim From Transfer Holder
    G03675218Courtesy of AMERICAN HONDA MOTOR CO., INC.
  46. Measure the thickness of the 68 mm thrust shim, and select the new 68 mm thrust shim.
    THRUST SHIM THICKNESS SPECIFICATIONS (68 MM)

    Shim No. Part Number Thickness
    ZV 23974-P1C-020 1.41 mm (0.056 in.)
    ZW 23975-P1C-020 1.44 mm (0.057 in.)
    ZX 23976-P1C-020 1.47 mm (0.058 in.)
    ZY 23977-P1C-020 1.50 mm (0.060 in.)
    ZZ 23978-P1C-020 1.53 mm (0.060 in.)
    A 23941-PW5-000 1.56 mm (0.061 in.)
    B 23942-PW5-000 1.59 mm (0.063 in.)
    C 23943-PW5-000 1.62 mm (0.064 in.)
    D 23944-PW5-000 1.65 mm (0.065 in.)
    E 23945-PW5-000 1.68 mm (0.066 in.)
    F 23946-PW5-000 1.71 mm (0.067 in.)
    G 23947-PW5-000 1.74 mm (0.069 in.)
    H 23948-PW5-000 1.77 mm (0.070 in.)
    I 23949-PW5-000 1.80 mm (0.071 in.)
    J 23950-PW5-000 1.83 mm (0.072 in.)
    K 23951-PW5-000 1.86 mm (0.073 in.)
    L 23952-PW5-000 1.89 mm (0.074 in.)
    M 23953-PW5-000 1.92 mm (0.076 in.)
    N 23954-PW5-000 1.95 mm (0.077 in.)
    O 23955-PW5-000 1.98 mm (0.078 in.)
    P 23956-PW5-000 2.01 mm (0.079 in.)
    Q 23957-PW5-000 2.04 mm (0.080 in.)
    R 23958-PW5-000 2.07 mm (0.081 in.)
    S 23959-PW5-000 2.10 mm (0.083 in.)
    T 23960-PW5-000 2.13 mm (0.084 in.)
    U 23961-PW5-000 2.16 mm (0.085 in.)
    V 23962-PW5-000 2.19 mm (0.086 in.)
    W 23963-PW5-000 2.22 mm (0.087 in.)
    X 23964-PW5-000 2.25 mm (0.089 in.)
    Y 23965-PW5-000 2.28 mm (0.090 in.)
    Z 23966-PW5-000 2.31 mm (0.091 in.)
    AA 23967-PW5-000 2.34 mm (0.092 in.)
    AB 23968-PW5-000 2.37 mm (0.093 in.)
    AC 23969-PW5-000 2.40 mm (0.094 in.)
    AD 23970-PW5-000 2.43 mm (0.096 in.)
    AZ 23941-PW8-000 2.46 mm (0.097 in.)
    BZ 23942-PW8-000 2.49 mm (0.098 in.)
    CZ 23943-PW8-000 2.52 mm (0.099 in.)
    DZ 23944-PW8-000 2.55 mm (0.100 in.)
    EZ 23945-PW8-000 2.58 mm (0.102 in.)
  47. Install the new 68 mm thrust shim (A) in the transfer holder, then install the tapered roller bearing outer race (B) with the special tools.
    Fig 24: Installing Tapered Roller Bearing Outer Race And Thrust Shim In Transfer Holder
    G03675219Courtesy of AMERICAN HONDA MOTOR CO., INC.
  48. Install the transfer shaft (A) in the transfer holder (B), and install the transfer drive gear (C), transfer collar (D), 25 mm thrust shim (E), tapered roller bearing (F), conical spring washer (G), and locknut (H). Install the conical spring washer in the direction shown.
    Fig 25: Installing Transfer Shaft, Transfer Drive Gear, Transfer Collar, Thrust Shim, Tapered Roller Bearing And Locknut
    G03675220Courtesy of AMERICAN HONDA MOTOR CO., INC.
  49. Put a 14 mm hex wrench (A) in the transfer shaft (B), then secure the hex wrench in a bench vise.
    Fig 26: Inserting Hex Wrench In Transfer Shaft
    G03675221Courtesy of AMERICAN HONDA MOTOR CO., INC.
  50. Tighten the locknut 118 N.m (12.0 kgf.m, 86.8 lbf.ft). Do not stake the locknut in this step.
  51. Temporarily install the transfer holder (A) and dowel pin (B) without the O-ring, and tighten the bolts.
    Fig 27: Installing Transfer Holder And Dowel Pin With Torque Specifications
    G03675222Courtesy of AMERICAN HONDA MOTOR CO., INC.
  52. Rotate the companion flange several turns to seat the tapered roller bearings, and recheck the starting torque. Remove the transfer holder after adjusting the starting torque.
  53. Stake the locknut into the transfer shaft in depth (A) of 0.7-1.2 mm (0.03-0.05 in.) using a 3.5 mm punch (B).
    Fig 28: Staking Locknut Into Transfer Shaft With Torque Specifications
    G03675223Courtesy of AMERICAN HONDA MOTOR CO., INC.
  54. Install the new O-ring (A) on the transfer holder (B), then install the transfer holder with the dowel pin (C) on the transfer housing (D).
    Fig 29: Installing Transfer Holder With Dowel Pin On Transfer Housing With Torque Specifications
    G03675224Courtesy of AMERICAN HONDA MOTOR CO., INC.