LEMON Manuals: Even more car manuals for everyone: 1960-2025
Home >> Honda >> 2005 >> Civic L4-1.7L CNG >> Repair and Diagnosis >> Powertrain Management >> Relays and Modules - Powertrain Management >> Relays and Modules - Computers and Control Systems >> Engine Control Module >> Service and Repair >> Procedures
April 5, 2026: LEMON Manuals is launched! Read the announcement.

Procedures

How to Remove the PCM for Testing

NOTE:
- Make sure you have the anti-theft code for the radio, then write down the frequencies for the radio's preset buttons before you disconnect the negative cable from the battery.
- Enter the anti-theft code, then enter the customer's radio station presets, and set the clock after you reconnect the negative cable to the battery.

1. Disconnect the negative cable from the battery.
2. Remove the passenger's dashboard lower cover, the right kick panel, and the glove box.




3. Remove the bolt. Cut the plastic cross brace in the glove box opening with diagonal cutters in the area shown, and discard it.




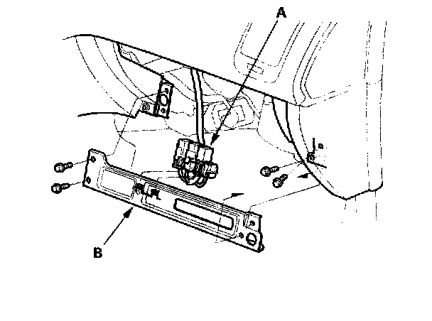
4. Remove the relays (A), then remove the bolts and the glove box frame (B).




5. Remove the gray 20P PCM wire harness connector from the PCM mounting bracket. Remove the PCM mounting bolt (A) and the bracket.
6. Remove the nuts, then remove the PCM (B).
7. Install the PCM in the reverse order of removal.
8. Reconnect the negative cable to the battery.
9. Do the PCM idle learn procedure.