LEMON Manuals: Even more car manuals for everyone: 1960-2025
Home >> Honda >> 2005 >> Civic L4-1.7L SOHC >> Repair and Diagnosis >> Powertrain Management >> Relays and Modules - Powertrain Management >> Relays and Modules - Computers and Control Systems >> Engine Control Module >> Testing and Inspection >> Programming and Relearning >> Updating the ECM/PCM
April 5, 2026: LEMON Manuals is launched! Read the announcement.

Updating the ECM/PCM

ECM/PCM Updating, Substitution and Replacement

Special Tools Required
Honda interface module (HIM) PIN EQS05A35570

Use this procedure when you have to substitute a known-good ECM/PCM in a troubleshooting procedure. Update the ECM/PCM only if the ECM/PCM does not already have the latest software loaded.

NOTE: Do not turn the ignition switch OFF while updating the ECM/PCM. If you turn the ignition switch OFF before completion, the ECM/PCM can be damaged.

How to Update the ECM/PCM

NOTE:
- To ensure the latest program is installed, do an ECM/PCM update whenever the ECM/PCM is substituted or replaced.
- Before you update the ECM/PCM, make sure the vehicle's battery is fully charged.
- To prevent ECM/PCM damage, do not operate anything electrical (audio system, brakes, A/C, power windows, moonroof, door locks, etc.) during the update.
- If you need to diagnose the Honda interface module (HIM) because the HIM's red (#3) light came on or was flashing during the update, leave the ignition switch in the ON (II) position when you disconnect the HIM from the data link connector (DLC). This will prevent ECM/PCM damage.

1. Turn the ignition switch ON (II). Do not start the engine.




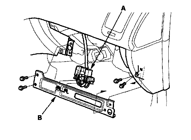
2. Connect the HIM to the DLC (A) located under the driver's side of dashboard.
3. Do the ECM/PCM update procedure as described on the HIM label and in the ECM/PCM update system. If the software in the ECM/PCM is the latest version, replace the ECM/PCM.

How to Substitute or Replace the ECM/PCM

1. Turn the ignition switch OFF.
2. Remove the passenger's dashboard lower cover, the right kick panel, and the glove box.




3. Connect the HDS to the vehicles data link connector (DLC) (A).




4 Remove the bolt. Cut the plastic cross brace in the glove box opening with diagonal cutters in the area shown, and discard it.




5. Remove the relays (A), then remove the bolts and the glove box frame (B).




6. Remove the gray 20P ECM/PCM wire harness connector from the ECM/PCM mounting bracket. Remove the ECM/PCM mounting bolt (A) and the bracket.
7. Remove the nuts, then remove the ECM/PCM (B).
8. Install the ECM/PCM in the reverse order of removal.
9. Turn the ignition switch ON (II).

NOTE: For 2004-2005 models: DTC P0630 "VIN Not Programmed or Mismatch" may be stored because the VIN has not been programmed into the ECM/PCM. Ignore it, and continue this procedure.

10. Input the VIN to the ECM/PCM with the HDS.
11. Rewrite the immobilizer code with the ECM/PCM replacement procedure in the HDS; it allows you to start the engine.
12. Reset the ECM/PCM with the HDS or a scan tool.
13. Do the idle learn procedure.