LEMON Manuals: Even more car manuals for everyone: 1960-2025
Home >> Honda >> 2005 >> Element 2WD L4-2.4L >> Repair and Diagnosis >> Maintenance >> Alignment >> Service and Repair
April 5, 2026: LEMON Manuals is launched! Read the announcement.

Alignment: Service and Repair

Wheel Alignment
The suspension can be adjusted for front camber, front toe, and rear toe. However, each of these adjustments are interrelated to each other. For example, when you adjust toe, the camber changes. Therefore, you must adjust the front wheel alignment whenever you adjust camber or toe.

Pre-Alignment Checks
For proper inspection and adjustment of the wheel alignment, do these checks:
1. Release the parking brake to avoid an incorrect measurement.
2. Make sure the suspension is not modified.
3. Check the tire size and tire pressure.
Tire size:
Front/rear: P215/70R16 99S
Tire pressure:
Front: 220 kPa (2.2 kgf/cm2, 32 psi)
Rear: 235 kPa (2.4 kgf/cm2, 34 psi)
4. Check the runout of the wheels and tires.





5. Check the suspension ball joints. (Hold a wheel with your hands, and move it up and down and right and left to check for wobbling).
6. Bounce the vehicle up and down several times to stabilize the suspension.

Caster Inspection
Use commercially-available computerized four wheel alignment equipment to measure wheel alignment (caster, camber, toe, and turning angle). Follow the equipment manufacture's instructions.
Check the caster angle.
Caster angle: 1°50' ± 1°
- If the measurement is within specifications, measure the camber angle.
- If the measurement is not within specifications, check for bent or damaged suspension components.

Camber Inspection
Use commercially-available computerized four wheel alignment equipment to measure wheel alignment (caster, camber, toe, and turning angle). Follow the equipment manufacturer's instructions.
Check the camber angle.
Camber angle:
Front: -0°13' ± 45'
Rear: -1°00' ± 45'
- If the measurement for the front camber is outside the specification, go to front camber adjustment.
- If the measurement for the rear camber is outside the specification, check for bent or damaged suspension components.

Front Camber Adjustment





The front camber can be adjusted by exchanging one or both of the damper pinch bolts with the smaller diameter adjusting bolt(s). The difference between the adjusting bolt diameter and the pinch bolt hole diameter allows a small range of adjustment.

1. Raise the front of the vehicle, and support it with safety stands in the proper locations.





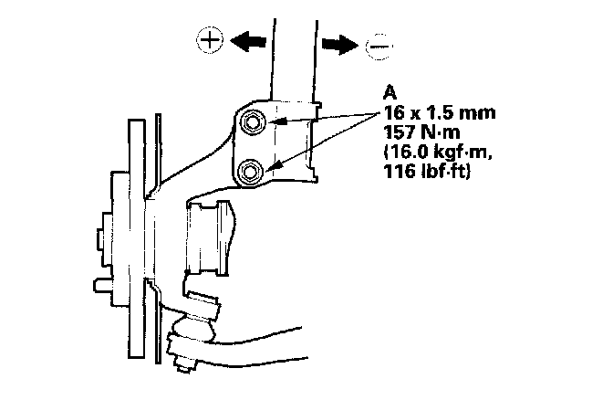
2. Loosen the flange nuts (A) and bolts, and adjust the camber by moving the bottom of the damper within the range of the damper pinch bolt free play. Tighten the flange nuts to the specified torque.

NOTE: The camber angle can be adjusted up to ±15' (center of tolerance) by replacing one damper pinch bolt with the adjusting bolt. The camber angle can be adjusted up to ±30' by replacing both damper pinch bolts with the adjusting bolts.

3. Reinstall the front wheels, lower the front of the vehicle to the ground, and bounce the front of the vehicle several times to stabilize the suspension.
4. Measure the camber angle.
- If the measurement is within specification, measure the toe-in.
- If the measurement is not within specification, check for bent or damaged suspension components.

Front Toe Inspection/Adjustment
Use commercially-available computerized four wheel alignment equipment to measure wheel alignment (caster, camber, toe, and turning angle). Follow the equipment manufacturer's instructions.

1. Center the steering wheel spokes.
2. Check the toe with the wheels pointed straight ahead.
Front toe-in: 0 ± 3 mm (0 ± 0.11 inch)
- If no adjustment is required, remove the alignment equipment.
- If adjustment is required, go to step 3.





3. Loosen the tie-rod locknuts (A) while holding the tie-rod end (B).
4. Turn the tie-rod arm (c) until the front toe is within specifications.
5. After adjusting, tighten the locknut while holding the tie-rod arm. Make sure the toe setting does not change.

Rear Toe Inspection/Adjustment
Use commercially-available computerized four wheel alignment equipment to measure wheel alignment (caster, camber, toe, and turning angle). Follow the equipment manufacturer's instructions.

1. Release the parking brake to avoid an incorrect measurement.
2. Check the toe.
Rear toe-in: 2 [+2/-1] mm (0.08 [+0.08/-0.04 inch])
- If no adjustment is required, remove the alignment equipment.
- If adjustment is required, go to step 3.





3. Hold the adjusting bolt (A) on the rear trailing arm, and loosen the self-locking nut (B).

NOTICE: Do not loosen the special bolts (c) on the trailing arm.

4. Adjust the rear toe by turning the adjusting bolt until the toe is correct.
5. Tighten the self-locking nut while holding the adjusting bolt.

Turning Angle Inspection
Use commercially-available computerized four wheel alignment equipment to measure wheel alignment (caster, camber, toe, and turning angle). Follow the equipment manufacturer's instructions.





1. Turn the wheel right and left while applying the brake, and measure the turning angle of both wheels.
2. If the turning angle is not within the specifications, check for bent or damaged suspension components.