LEMON Manuals: Even more car manuals for everyone: 1960-2025
Home >> Honda >> 2005 >> Element 2WD L4-2.4L >> Repair and Diagnosis >> Starting and Charging >> Power and Ground Distribution >> Relay Box >> Application and ID >> Under-Dash Fuse/Relay Box
April 5, 2026: LEMON Manuals is launched! Read the announcement.

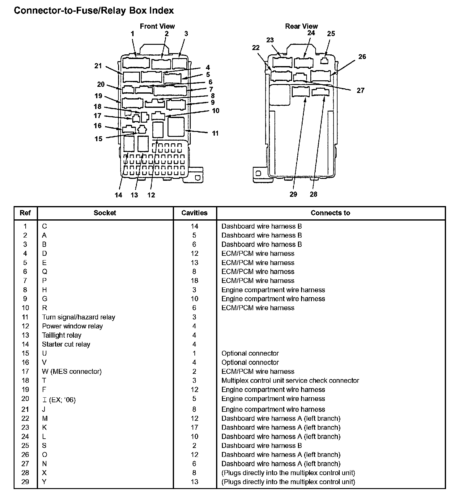
Under-Dash Fuse/Relay Box

Under-dash Fuse/Relay Box: