LEMON Manuals: Even more car manuals for everyone: 1960-2025
Home >> Honda >> 2005 >> Odyssey V6-3.5L >> Repair and Diagnosis >> Testing and Inspection
April 5, 2026: LEMON Manuals is launched! Read the announcement.

Repair and Diagnosis: Testing and Inspection

Power Relay Test




Use this chart to identify the type of relay, then do the test listed for it.

NOTE:
- For the turn signal/hazard relay input test.
- PGM-FI main relay 2 contains a diode between No. 3 and No. 4 terminals. Power (+B) must be connected to the No. 4 terminal, and ground connected to the No. 3 terminal. Failure to test relay correctly will damage the relay and the PCM.

Normally-open type




Check for continuity between the terminals.
- There should be continuity between the No. 1 and No. 2 terminals when power and ground are connected to the No. 3 and No. 4 terminals.
- There should be no continuity between the No. 1 and No. 2 terminals when power is disconnected.

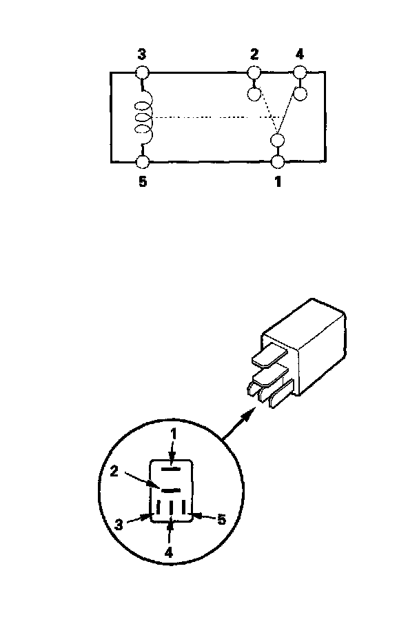
Five-terminal type




Check for continuity between the terminals.
- There should be continuity between the No. 1 and No. 2 terminals when power and ground are connected to the No. 3 and No. 5 terminals.
- There should be continuity between the No. 1 and No. 4 terminals when power is disconnected.