LEMON Manuals: Even more car manuals for everyone: 1960-2025
Home >> Honda >> 2005 >> Pilot EX >> Repair and Diagnosis >> Body & Frame >> Windows >> Glass >> Quarter Glass Replacement
April 5, 2026: LEMON Manuals is launched! Read the announcement.

Quarter Glass Replacement

NOTE:
  • Put on gloves to protect your hands.
  • Wear eye protection while cutting the glass adhesive with a piano wire.
  • Use seat covers to avoid damaging any surfaces.
  • Do not damage the glass antenna grid lines and terminals.
  1. Remove these items:
  2. Disconnect the glass antenna connector (A).
    Fig 1: Disconnecting Glass Antenna Connector (A)
    G04547638Courtesy of AMERICAN HONDA MOTOR CO., INC.
  3. If the old quarter glass will be reinstalled, make alignment marks across the glass and body with a grease pencil.
  4. Pull down the rear side portion of the headliner as necessary (see HEADLINER REMOVAL/INSTALLATION ).
  5. Apply protective tape along the inside and outside edges of the body. Using an awl, make a hole through the adhesive from inside the vehicle. Push a piece of piano wire through the hole, and wrap each end around a piece of wood.
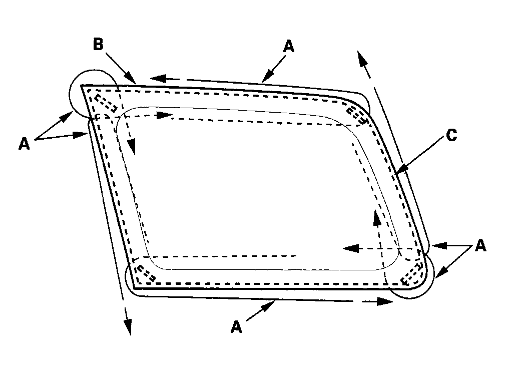
  6. With a helper on the outside, pull the piano wire (A) back and forth in a sawing motion. Hold the piano wire as close to the quarter glass (B) as possible to prevent damage to the body, and carefully cut through the adhesive (C) around the entire quarter glass.
    Fig 2: Pulling Piano Wire (A) Back And Forth In A Sawing Motion
    G04547639Courtesy of AMERICAN HONDA MOTOR CO., INC.

    Cutting positions 

    Fig 3: Identifying Cutting Positions
    G04547640Courtesy of AMERICAN HONDA MOTOR CO., INC.
  7. Carefully remove the quarter glass.
  8. With a putty knife, scrape the old adhesive smooth to a thickness of about 2 mm (0.08 in.) on the bonding surface around the entire quarter glass opening flange:
    • Do not scrape down to the painted surface of the body; damaged paint will interfere with proper bonding.
    • Remove the fasteners from the body.
  9. Clean the body bonding surface with a sponge dampened in alcohol. After cleaning, keep oil, grease, and water from getting on the surface.
  10. If the old quarter glass will be reinstalled, use a putty knife to scrape off all of the old adhesive and the rubber dam from the glass. Clean the inside face and the edge of the glass with alcohol where new adhesive will be applied. Make sure the bonding surface is kept free of water, oil, and grease.
  11. Attach the rubber dam (A) with adhesive tape to the inside surface of the glass (B) as shown:
    • Be sure both ends of the rubber dam line up with the alignment marks (C).
    • Be careful not to touch the glass where adhesive will be applied.

      Rubber dam adhesive tape: 

      Thickness 0.16 mm (0.0063 in.) 

      Width 3.5 mm (0.14 in.) 

      Fig 4: Attaching Rubber Dam (A) With Adhesive Tape To Inside Surface Of Glass
      G04547641Courtesy of AMERICAN HONDA MOTOR CO., INC.
  12. Attach the clips (A) with adhesive tape and fasteners (B) with adhesive tape to the inside face of the quarter glass (C) as shown. Be careful not to touch the quarter glass where adhesive will be applied.
    • Be sure the clips line up with the alignment marks (D).
    • Be careful not to touch the quarter glass where adhesive will be applied.

      Clips adhesive tape: 

      Thickness 0.4 mm (0.016 in.) 

      Width 7.5 mm (0.3 in.) 

      Fastener adhesive tape: 

      Thickness 0.6 mm (0.024 in.) 

      Width 7.5 mm (0.3 in.) 

      Fig 5: Attaching Clips (A) With Adhesive Tape And Fasteners (B) With Adhesive Tape To Inside Face Of Quarter Glass
      G04547642Courtesy of AMERICAN HONDA MOTOR CO., INC.
  13. Attach the fasteners with adhesive tape to the body as shown.

    Adhesive tape: Thickness 0.6 mm (0.024 in.) 

    Width 9.5 mm (0.37 in.) 

    Fig 6: Attaching Fasteners With Adhesive Tape To Body
    G04547643Courtesy of AMERICAN HONDA MOTOR CO., INC.
  14. With a sponge, apply a light coat of glass primer to the edge of the glass (A) and along the rubber dam (B) as shown, then lightly wipe it off with gauze or cheesecloth:
    • Do not apply body primer to the quarter glass, and do not get body and glass primer sponges mixed up.
    • Never touch the primed surfaces with your hands. If you do, the adhesive may not bond to the quarter glass properly, causing a leak after the quarter glass is installed.
    • Keep water, dust, and abrasive materials away from the primed surfaces.
      Fig 7: Applying A Light Coat Of Glass Primer To Edge Of Glass (A) And Along Rubber Dam
      G04547644Courtesy of AMERICAN HONDA MOTOR CO., INC.
  15. With a sponge, apply a light coat of body primer to the original adhesive remaining around the quarter glass opening flange. Let the body primer dry for at least 10 minutes:
    • Do NOT apply body primer to any remaining original adhesive on the flange.
    • Be careful not to mix up the body and glass primer sponges.
    • Never touch the primed surfaces with your hands.
      Fig 8: Applying A Light Coat Of Body Primer To Original Adhesive Remaining Around Quarter Glass Opening Flange
      G04547645Courtesy of AMERICAN HONDA MOTOR CO., INC.
  16. Before filling a cartridge, cut a "V" in the end of the nozzle (A) as shown.
    Fig 9: Cutting A "V" In End Of Nozzle
    G04547646Courtesy of AMERICAN HONDA MOTOR CO., INC.
  17. Pack adhesive into the cartridge without air pockets to ensure continuous delivery. Put the cartridge in a caulking gun, and run a bead of adhesive (A) around the edge of the glass (B) as shown. Apply the adhesive within 30 minutes after applying the glass primer. Make a slightly thicker bead at each corner.
    Fig 10: Running A Bead Of Adhesive (A) Around Edge Of Glass (B)
    G04547647Courtesy of AMERICAN HONDA MOTOR CO., INC.
  18. Use suction cups (A) to hold the quarter glass over the opening, align it and set it down on the adhesive. Lightly push on the quarter glass until its edges are fully seated on the adhesive all the way around. Do not open or close the doors until the adhesive is dry.
    Fig 11: Using Suction Cups (A) To Hold Quarter Glass Over Opening
    G04547648Courtesy of AMERICAN HONDA MOTOR CO., INC.
  19. Scrape or wipe the excess adhesive off with a putty knife or towel. To remove adhesive from a painted surface or the quarter glass, use a soft shop towel dampened with alcohol.
  20. Let the adhesive dry for at least 1 hour, then spray water over the quarter glass and check for leaks. Mark the leaking areas, let the quarter glass dry, then seal with sealant. Let the vehicle stand for at least 4 hours after quarter glass installation. If the vehicle has to be used within the first 4 hours, it must be driven slowly.
  21. Reinstall all remaining removed parts.
    NOTE: Advise the customer not to do the following things for 2 to 3 days:
    • Slam the doors with all the windows rolled up.
    • Twist the body excessively (such as when going in and out of driveways at an angle or driving over rough, uneven roads).