LEMON Manuals: Even more car manuals for everyone: 1960-2025
Home >> Honda >> 2005 >> Pilot LX >> Repair and Diagnosis >> Engine Performance >> System >> PGM-FI System >> Knock Sensor Replacement
April 5, 2026: LEMON Manuals is launched! Read the announcement.

Knock Sensor Replacement

  1. Remove the intake manifold (see REMOVAL ).
  2. Remove the injector rails and the base.
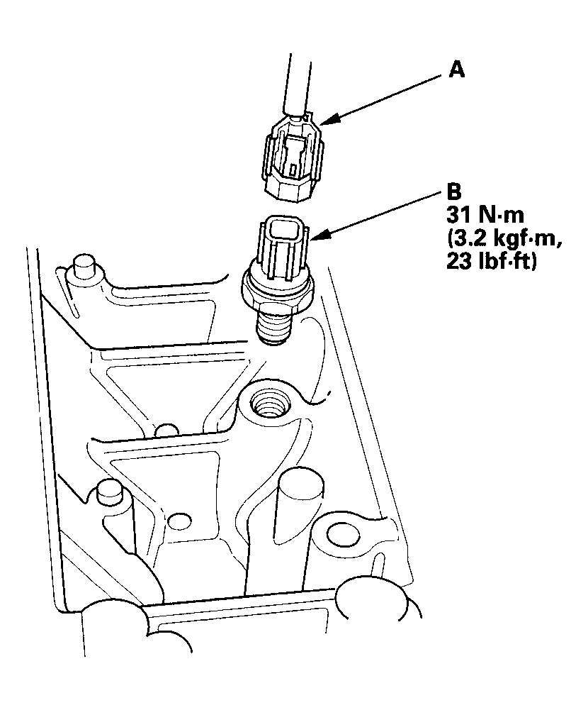
  3. Disconnect the knock sensor 1P Connector (A), then remove the knock sensor (B).
    Fig 1: Disconnecting Knock Sensor 1P Connector
    G04546051Courtesy of AMERICAN HONDA MOTOR CO., INC.
  4. Install the sensor in the reverse order of removal.