LEMON Manuals: Even more car manuals for everyone: 1960-2025
Home >> Honda >> 2006 >> CR-V SE >> Repair and Diagnosis >> Body & Frame >> Windows >> Glass >> Windshield Replacement
April 5, 2026: LEMON Manuals is launched! Read the announcement.

Windshield Replacement

NOTE:
  • Put on gloves to protect your hands.
  • Wear eye protection when removing the glass with a piano wire.
  • Use seat covers to avoid damaging the seat.
  1. Remove these items:
  2. Remove the molding (A) from the upper edge of the windshield (B). If necessary, cut the molding with a utility knife.
    Fig 1: Removing Molding
    G03676025Courtesy of AMERICAN HONDA MOTOR CO., INC.
  3. If the old windshield will be reinstalled, make alignment marks across the glass and body with a grease pencil.
  4. Pull down the front portion of the headliner (see HEADLINER REMOVAL/INSTALLATION ). Take care not to bend the headliner excessively, as you may crease or break it.
  5. Apply protective tape along the edge of the dashboard and body. Using an awl, make a hole through the rubber dam and adhesive from inside the vehicle at the corner portion of the windshield. Push a piece of piano wire through the hole, and wrap each end around a piece of wood.
  6. With a helper on the outside, pull a piano wire (A) back and forth in a sawing motion. Hold a piano wire as close to the windshield (B) as possible to prevent damage to the body and dashboard. Carefully cut through the rubber dam and adhesive (C) around the entire windshield.
    Fig 2: Cutting Windshield Rubber Dam And Adhesive With Piano Wire
    G03676026Courtesy of AMERICAN HONDA MOTOR CO., INC.

    Cutting positions 

    Fig 3: Identifying Cutting Position
    G03676027Courtesy of AMERICAN HONDA MOTOR CO., INC.
  7. Carefully remove the windshield.
  8. With a knife, scrape the old adhesive smooth to a thickness of about 2 mm (0.08 in.) on the bonding surface around the entire windshield opening flange:
    • Do not scrape down to the painted surface of the body; damaged paint will interfere with proper bonding.
    • Remove the rubber dam and fasteners from the body.
  9. Clean the body bonding surface with a sponge dampened in alcohol. After cleaning, keep oil, grease and water from getting on the clean surface.
  10. If the old windshield will be reinstalled, use a putty knife to scrape off all of the old adhesive, the fasteners, and the rubber dam from the windshield. Clean the inside face and the edge of the windshield with alcohol where new adhesive will be applied. Make sure the bonding surface is kept free of water, oil, and grease.
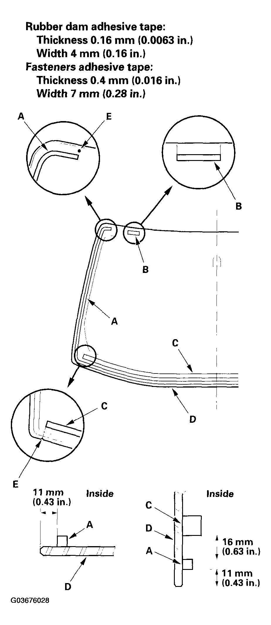
  11. Attach the rubber dam (A) and the fasteners (B) with adhesive tape and dashboard seal (C) to the inside face of the windshield (D) as shown:
    • Be sure the rubber dam, dashboard seal, and fasteners line up with the alignment marks (E).
    • Be careful not to touch the windshield where adhesive will be applied.
      Fig 4: Attaching Rubber Dam And Fasteners
      G03676028Courtesy of AMERICAN HONDA MOTOR CO., INC.
  12. Align the molding (A) with the alignment marks (B), then attach it with adhesive tape on the windshield (C). Be careful not to touch the windshield where adhesive will be applied.
    Fig 5: Aligning Molding With Alignment Marks
    G03676029Courtesy of AMERICAN HONDA MOTOR CO., INC.
  13. Install the fasteners on the body.
    Fig 6: Installing Fasteners On Body
    G03676030Courtesy of AMERICAN HONDA MOTOR CO., INC.
  14. Set the windshield in the opening, and center it. Make alignment marks (A) across the windshield and body with a grease pencil at the four points shown. Be careful not to touch the windshield where adhesive will be applied.
    Fig 7: Making Alignment Marks
    G03676031Courtesy of AMERICAN HONDA MOTOR CO., INC.
  15. Remove the windshield.
  16. With a sponge, apply a light coat of glass primer around the edge of the windshield (A) between the rubber dam (B) and molding (C) as shown, then lightly wipe it off with gauze or cheesecloth:
    • Apply glass primer to the molding.
    • Do not apply body primer to the windshield, and do not get body and glass primer sponges mixed up.
    • Never touch the primed surfaces with your hands. If you do, the adhesive may not bond to the windshield properly, causing a leak after the windshield is installed.
    • Keep water, dust, and abrasive materials away from the primed surfaces.
      Fig 8: Applying Glass Primer
      G03676032Courtesy of AMERICAN HONDA MOTOR CO., INC.
  17. With a sponge, carefully apply a light coat of body primer to any exposed paint or metal around the flange where new adhesive will be applied. Let the primer dry for at least 10 minutes:
    • Do NOT apply body primer to any remaining original adhesive on the flange.
    • Be careful not to mix up the body and glass primer sponges.
    • Never touch the primed surfaces with your hands.
      Fig 9: Applying Light Coat Of Body Primer
      G03676033Courtesy of AMERICAN HONDA MOTOR CO., INC.
  18. Cut a "V" in the end of the nozzle (A) on the adhesive cartridge as shown.
    Fig 10: Cutting "V" In End Of Nozzle
    G03676034Courtesy of AMERICAN HONDA MOTOR CO., INC.
  19. Put the cartridge in a caulking gun, and run a bead of adhesive (A) around the edge of the windshield (B) between the rubber dam (C) and molding (D) as shown. Apply the adhesive within 30 minutes after applying the glass primer. Make a slightly thicker bead at each corner.
    Fig 11: Applying Bed Of Adhesive
    G03676035Courtesy of AMERICAN HONDA MOTOR CO., INC.
  20. Use suction cups to hold the windshield over the opening, align it with the alignment marks made in step  14 . and set it down on the adhesive. Lightly push on the windshield until its edges are fully seated on the adhesive all the way around. Do not open or close the doors until the adhesive is dry.
  21. Scrape or wipe the excess adhesive off with a putty knife or towel. To remove adhesive from a painted surface or the windshield, wipe with a soft shop towel dampened with alcohol.
  22. Let the adhesive dry for at least 1 hour, then spray water over the windshield and check for leaks. Mark leaking areas, and let the windshield dry, then seal with sealant:
    • Let the vehicle stand for at least 4 hours after windshield installation. If the vehicle has to be used within the first 4 hours, it must be driven slowly.
    • Keep the windshield dry for the first hour after installation.
  23. Reinstall all remaining removed parts. Install the rearview mirror after the adhesive has dried thoroughly.
    NOTE: Advise the customer not to do the following things for 2 to 3 days:
    • Slam the doors with all the windows rolled up.
    • Twist the body excessively (such as when going in and out of driveways at an angle or driving over rough, uneven roads).