LEMON Manuals: Even more car manuals for everyone: 1960-2025
Home >> Honda >> 2006 >> CR-V SE >> Repair and Diagnosis >> Steering >> Power Steering >> Power Steering System >> Steering Gearbox Overhaul >> Exploded View >> Disassembly
April 5, 2026: LEMON Manuals is launched! Read the announcement.

Exploded View: Disassembly

  1. 2. Remove cylinder lines (A) and return line joint (B) from the steering gearbox.
    Fig 1: Removing Cylinder Lines And Return Line Joint From Steering Gearbox
    G03675490Courtesy of AMERICAN HONDA MOTOR CO., INC.
  2. 3. Drain the fluid from the cylinder fittings by slowly moving the steering rack back and forth.
  3. 4. Unbend the lock washers (A).
    Fig 2: Unbending Lock Washers
    G03675491Courtesy of AMERICAN HONDA MOTOR CO., INC.
  4. 5. Hold the bracket (A) with one wrench, and unscrew both rack ends (B) with another wrench. Remove the lock washers.
    Fig 3: Removing Lock Washers
    G03675492Courtesy of AMERICAN HONDA MOTOR CO., INC.
  5. 6. Remove the stop washer (A), the 12 mm flange bolts (B), O-rings (C), and bracket (D) from the steering gearbox.
    Fig 4: Removing Stop Washer
    G03675493Courtesy of AMERICAN HONDA MOTOR CO., INC.
  6. 7. Remove the boot guard (A) by removing the 8 mm flange bolt (C) on the rack end.
    Fig 5: Removing Boot Guard
    G03675494Courtesy of AMERICAN HONDA MOTOR CO., INC.
  7. 8. Remove the boot band (D) and clip (E). Pull the boot B away from the end of the steering gearbox. Remove the rack end plug (F).
  8. 9. Loosen the locknut (A), then remove the rack guide screw (B), spring (C), disc washer (D), and rack guide (E) from the steering gearbox.
    Fig 6: Removing Boot Band And Clip
    G03675495Courtesy of AMERICAN HONDA MOTOR CO., INC.
  9. 10. Remove the snap ring (A) and backup ring (B) from the cylinder housing.
    Fig 7: Removing Snap Ring And Backup Ring From Cylinder Housing
    G03675496Courtesy of AMERICAN HONDA MOTOR CO., INC.
  10. 11. Remove the valve body unit (A) from the steering gearbox. Remove the O-ring (B), and discard it.
    Fig 8: Removing Valve Body Unit From Steering Gearbox
    G03675497Courtesy of AMERICAN HONDA MOTOR CO., INC.
  11. 12. Remove the two boot bands (B) from boot A. Compress boot A by hand, and apply vinyl tape (C) so the boots stay collapsed and pulled back.
    Fig 9: Removing Boot Bands
    G03675498Courtesy of AMERICAN HONDA MOTOR CO., INC.
  12. 13. Hold the steering gearbox housing using a C-clamp (commercially available) (A) and the wooden blocks (B) as shown. Do not clamp the cylinder part of the housing or steering gearbox housing in the vise.
    Fig 10: Holding Steering Gearbox Housing Using A C-Clamp
    G03675499Courtesy of AMERICAN HONDA MOTOR CO., INC.
  13. 14. Install the special tool (A) on the lock screw (B), then loosen and remove the lock screw from inside of the steering gearbox housing (C).
    Fig 11: Removing Lock Screw From Inside Of Steering Gearbox Housing
    G03675500Courtesy of AMERICAN HONDA MOTOR CO., INC.
  14. 15. Remove the special tool.
  15. 16. Pull on the cylinder to remove it from the gearbox housing. Remove boot A and the slider guide (B) from the cylinder.
    Fig 12: Removing Boot A And Slider Guide From Cylinder
    G03675501Courtesy of AMERICAN HONDA MOTOR CO., INC.
  16. 17. Check the slider guide for damage and cracks. Use vernier calipers to measure the thickness of the slider guide. If the thickness is less than the service limit (A), replace the slider guide.
    Fig 13: Checking Slider Guide
    G03675502Courtesy of AMERICAN HONDA MOTOR CO., INC.
  17. 18. Remove and discard the stop ring (A) on the cylinder by expanding it with snap ring pliers. Remove and discard the lock screw (B).
    Fig 14: Removing Stop Ring
    G03675503Courtesy of AMERICAN HONDA MOTOR CO., INC.
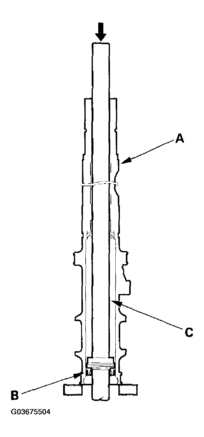
  18. 19. Set the cylinder housing (A) in a press so the cylinder side points downward, then press the cylinder end seal (B) and steering rack (C) out of the cylinder. Hold the rack to keep it from falling when pressed clear.
    Fig 15: Pressing Cylinder End Seal And Steering Rack Out Of Cylinder
    G03675504Courtesy of AMERICAN HONDA MOTOR CO., INC.
  19. 20. Remove the cylinder end seal from the steering rack.
  20. 21. Insert the special tools into the cylinder. Make sure the attachment (A) of the special tools is securely positioned on the bushing edges (B).
    Fig 16: Removing Cylinder End Seal From Steering Rack
    G03675505Courtesy of AMERICAN HONDA MOTOR CO., INC.
  21. 22. Place the cylinder in a press, then remove the cylinder end seal (C), backup ring (D), and bushing from the cylinder by pressing on the special tool end.

    Note the items when pressing the cylinder end seal:

    • Keep tool straight to avoid damaging the cylinder wall. Check the tool angle, and correct it if necessary, when removing the cylinder end seal.
    • Use a press to remove the cylinder end seal. Do not try to remove the seal by striking the tool; striking the tool would break the cylinder end seal, and the seal would remain in the cylinder.
  22. 23. Carefully pry the piston seal ring (A) and O-ring (B) off the rack piston. Be careful not to damage the inside of the seal ring groove and piston edges when removing the seal ring.
    Fig 17: Prying Piston Seal Ring And O-Ring Off Rack Piston
    G03675506Courtesy of AMERICAN HONDA MOTOR CO., INC.
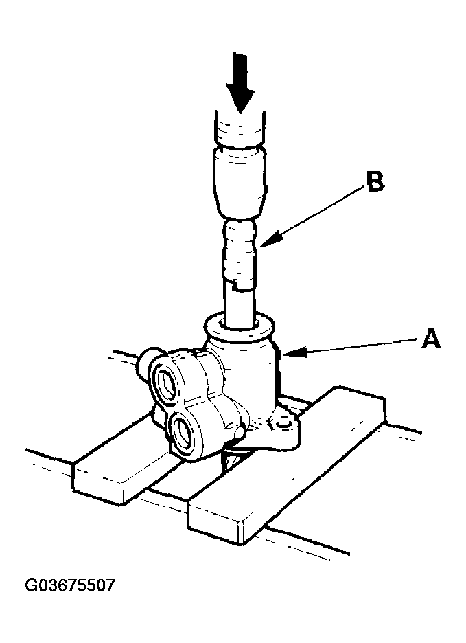
  23. 24. Before removing the valve housing (A), apply vinyl tape (B) to the splines on the pinion shaft.
    Fig 18: Removing Valve Housing
    G03675507Courtesy of AMERICAN HONDA MOTOR CO., INC.
  24. 25. Separate the valve housing from the pinion shaft/valve using a press.
  25. 26. With your finger, check the inner wall of the valve housing where the seal ring slides. If there is a step in the wall, the housing is worn. Replace it.
    NOTE: There may be sliding marks from the seal ring on the wall of the valve housing. Replace the valve housing only if the wall is stepped.
    Fig 19: Checking Inner Wall Of Valve Housing
    G03675508Courtesy of AMERICAN HONDA MOTOR CO., INC.
  26. 27. Check for wear, burrs, and other damage to the edges of the grooves in the sleeve.
    NOTE: The pinion shaft and sleeve are a precision matched set. If either the pinion shaft or sleeve must be replaced, replace both parts as a set.
    Fig 20: Identifying Edges Of Grooves In Sleeve
    G03675509Courtesy of AMERICAN HONDA MOTOR CO., INC.
  27. 28. Remove the snap ring (A) and sleeve (B) from the pinion shaft.
    Fig 21: Removing Snap Ring And Sleeve From Pinion Shaft
    G03675510Courtesy of AMERICAN HONDA MOTOR CO., INC.
  28. 29. Using a cutter or an equivalent tool, cut and remove the four seal rings from the sleeve. Be careful not to damage the edges of the sleeve grooves and the outer surface when removing the seal rings.
    Fig 22: Removing Seal Rings From Sleeve
    G03675511Courtesy of AMERICAN HONDA MOTOR CO., INC.
  29. 30. Using a cutter or an equivalent tool, cut the valve seal ring (A) and O-ring (B) at the groove (C) in the pinion shaft. Remove the valve seal ring and O-ring. Be careful not to damage the edges of the pinion shaft groove and outer surface when removing the valve seal ring and O-ring.
    Fig 23: Cutting Valve Seal Ring And O-Ring At Groove In Pinion Shaft
    G03675512Courtesy of AMERICAN HONDA MOTOR CO., INC.
  30. 31. Remove the valve oil seal (A) and wave washer (B) from the pinion shaft.

    Note these items during disassembly:

    • Inspect the ball bearing (C) by rotating the outer race slowly. If there is any excessive play, replace the pinion shaft and sleeve as an assembly.
    • The pinion shaft and sleeve are a precise fit; do not intermix old and new pinion shafts and sleeves.
      Fig 24: Removing Valve Oil Seal And Wave Washer From Pinion Shaft
      G03675513Courtesy of AMERICAN HONDA MOTOR CO., INC.
  31. 32. Press the valve oil seal (A) and roller bearing (B) out of the valve housing using a hydraulic press and special tool.
    Fig 25: Pressing Valve Oil Seal And Roller Bearing Out Of Valve Housing Using A Hydraulic Press
    G03675514Courtesy of AMERICAN HONDA MOTOR CO., INC.