LEMON Manuals: Even more car manuals for everyone: 1960-2025
Home >> Honda >> 2006 >> CR-V SE >> Repair and Diagnosis >> Steering >> Power Steering >> Power Steering System >> Steering Gearbox Overhaul >> Exploded View >> Reassembly
April 5, 2026: LEMON Manuals is launched! Read the announcement.

Exploded View: Reassembly

  1. 33. Apply vinyl tape (A) to the stepped portion of the pinion shaft, and coat the surface of the vinyl tape with power steering fluid.
    Fig 1: Installing The Wave Washer
    G03675515Courtesy of AMERICAN HONDA MOTOR CO., INC.
  2. 34. Install the wave washer (B). Coat the inside surface of the new valve oil seal (C) with power steering fluid, and install the seal with its grooved side facing opposite the bearing, then slide it over the pinion shaft, being careful not to damage its sealing lip (D). Remove the vinyl tape.
  3. 35. Install the special tool over the pinion, and coat the surface of the tool with power steering fluid. Slip the new O-ring (A) and new valve seal ring (B) over the special tool, and expand them.
    Fig 2: Slip New O-ring And New Valve Seal Ring Over The Special Tool
    G03675516Courtesy of AMERICAN HONDA MOTOR CO., INC.
  4. 36. Fit the O-ring in the groove of the pinion shaft. Then slide the valve seal ring over the shaft and in the groove on the pinion shaft.
  5. 37. Remove the special tool, and apply power steering fluid to the surface of the valve seal ring (A).
    Fig 3: Applying Power Steering Fluid To Surface Of Valve Seal Ring
    G03675517Courtesy of AMERICAN HONDA MOTOR CO., INC.
  6. 38. Apply power steering fluid to the inside of the special tool. Set the larger diameter end of the special tool over the valve seal ring, and move the special tool up and down several times to make the valve seal ring fit in the pinion shaft groove.
  7. 39. Remove the special tool, turn it over, slide the smaller diameter end over the valve seal ring. Move it up and down several times to make the valve seal ring fits snugly in the pinion shaft groove.
  8. 40. Apply power steering fluid to the surface of the special tool. Slip two new seal rings (A) over the special tool from the smaller diameter end, and expand them. Install only two rings at a time from each end of the pinion shaft sleeve (B).

    Note these items when installing the seal rings:

    • Do not over-expand the seal rings. Install the resin seal rings with care so as not to damage them. After installation, make sure you contract the seal rings using the special tool (sizing tool).
    • There are two types of sleeve seal rings; black and brown. Do not mix the different types of rings as they are not compatible.
      Fig 4: Identifying Seal Rings
      G03675518Courtesy of AMERICAN HONDA MOTOR CO., INC.
  9. 41. Align the special tool with each groove in the sleeve, and slide a sleeve seal ring into each groove. After installation, compress the seal rings with your fingers temporarily.
  10. 42. Apply power steering fluid to the seal rings on the sleeve, and to the entire inside surface of the special tool, then slowly insert the sleeve into the special tool.
    Fig 5: Applying Power Steering Fluid To Seal Rings On Sleeve
    G03675519Courtesy of AMERICAN HONDA MOTOR CO., INC.
  11. 43. Move the sleeve back and forth several times to make the seal rings snugly fit in the sleeve. Make sure the seal rings are not twisted.
  12. 44. Apply power steering fluid to the surface of the pinion shaft (A). Slide the sleeve (B) onto the pinion shaft by aligning the locating pin (C) on the inside of the sleeve with the cutout (D) in the shaft. Then install the new snap ring (E) securely in the pinion shaft groove. Be careful not to damage the valve seal ring when inserting the sleeve.
    Fig 6: Applying Power Steering Fluid To Surface Of Pinion Shaft
    G03675520Courtesy of AMERICAN HONDA MOTOR CO., INC.
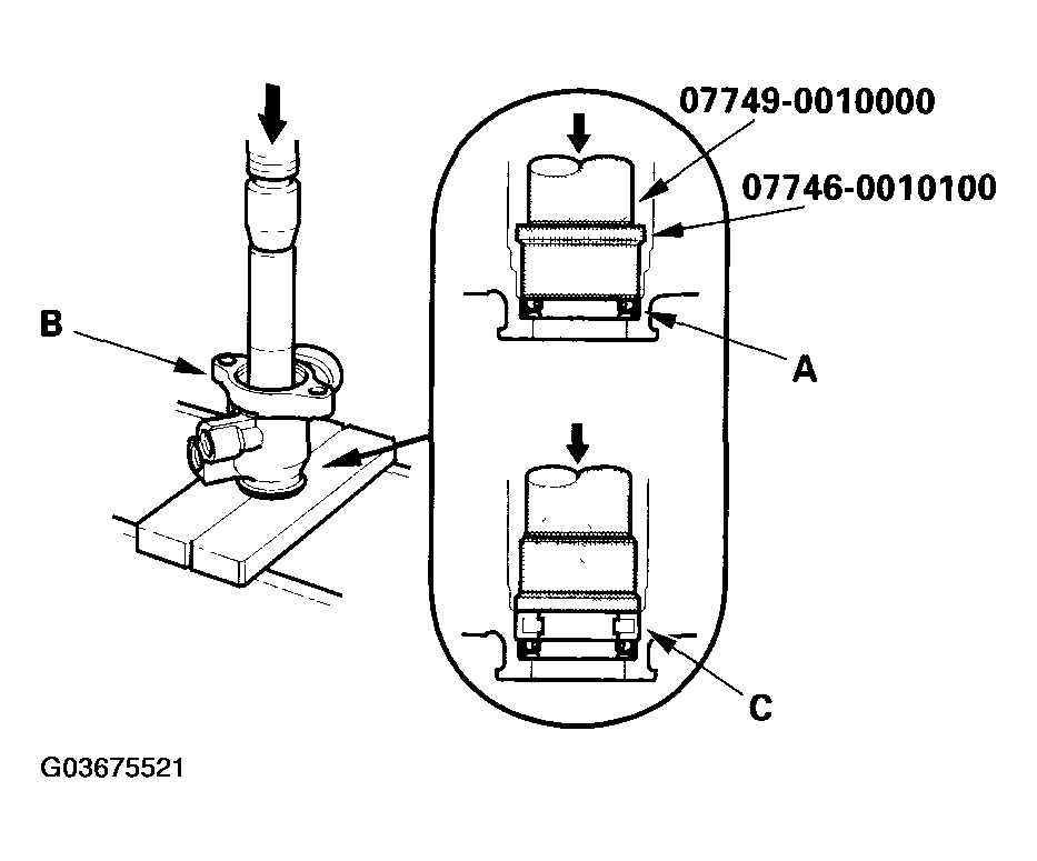
  13. 45. Apply power steering fluid to the seal ring lip of the new valve oil seal (A), then install the seal in the valve housing (B) using a hydraulic press and special tools. Install the seal with its grooved side facing the tool.
    Fig 7: Installing Seal In Valve Housing
    G03675521Courtesy of AMERICAN HONDA MOTOR CO., INC.
  14. 46. Press the roller bearing (C) into the valve housing with a hydraulic press and special tools.
  15. 47. Apply vinyl tape (A) to the pinion shaft, then coat the vinyl tape with power steering fluid.
    Fig 8: Pressing Roller Bearing Into Valve Housing With A Hydraulic Press
    G03675522Courtesy of AMERICAN HONDA MOTOR CO., INC.
  16. 48. Insert the pinion shaft into the valve housing (B). Be careful not to damage the valve seal rings (C) and valve oil seal sealing lip (D).
  17. 49. Remove the vinyl tape from the pinion shaft, then remove any residue from the tape adhesive.
  18. 50. Press the pinion shaft/sleeve into the valve housing with a hydraulic press. Check that the pinion shaft/sleeve turns smoothly by hand after installing it.
    Fig 9: Inserting Pinion Shaft Into Valve Housing
    G03675523Courtesy of AMERICAN HONDA MOTOR CO., INC.
  19. 51. Coat the special tool with power steering fluid, then slide it onto the rack, big end first.
  20. 52. Position the new O-ring (A) and new piston seal ring (B) on the special tool, then slide them down toward the big end of the tool.

    Note these items during reassembly:

    • Do not over expand the resin seal ring. Install the resin seal ring with care so as not to damage it. After installation, make sure you contract the seal ring using the special tool (sizing tool).
    • Replace piston's O-ring and seal ring as a set.
      Fig 10: Identifying Position New O-Ring And New Piston Seal Ring On Special Tool
      G03675524Courtesy of AMERICAN HONDA MOTOR CO., INC.
  21. 53. Pull the O-ring off into the piston groove, then pull the piston seal ring off into the piston groove on top of the O-ring.
  22. 54. Coat the piston seal ring (A) and the inside of the special tool with power steering fluid, then carefully slide the tool onto the rack and over the piston seal ring.
    Fig 11: Identifying Piston Seal Ring
    G03675525Courtesy of AMERICAN HONDA MOTOR CO., INC.
  23. 55. Move the special tool back and forth several times to make the piston seal ring fits snugly in the piston.
  24. 56. Set the new bushing (A) on the special tool, and insert the special tools into the cylinder housing (B).
    Fig 12: Setting New Bushing On The Special Tool And Inserting Into The Cylinder Housing
    G03675526Courtesy of AMERICAN HONDA MOTOR CO., INC.
  25. 57. Set the cylinder in a press, and install the bushing into the bottom of the cylinder by pressing on the tool with a press. Do not push on the tool with excessive force as it may damage the new bushing.
  26. 58. Coat the sliding surface of the special tool (A) and new cylinder end seal (B) with power steering fluid. Place the seal on the special tool with its grooved side (C) facing opposite the special tool.
    Fig 13: Installing Bushing Into Bottom Of Cylinder
    G03675527Courtesy of AMERICAN HONDA MOTOR CO., INC.
  27. 59. Apply a thin coat of grease to the inside of the special tool.
  28. 60. Install the cylinder end seal (A) onto the steering rack (B) with its grooved side (C) toward the piston (D). Make sure the gap in the special tool is opposite of rack teeth.
    Fig 14: Installing Cylinder End Seal Onto Steering Rack
    G03675528Courtesy of AMERICAN HONDA MOTOR CO., INC.
  29. 61. Separate the cylinder end seal from the special tool, then remove the special tool.
    Fig 15: Separating Cylinder End Seal
    G03675529Courtesy of AMERICAN HONDA MOTOR CO., INC.
  30. 62. Install the new backup ring (A) on the steering rack, then place the backup ring and cylinder end seal (B) against the piston (C).
    Fig 16: Installing Backup Ring On Steering Rack
    G03675530Courtesy of AMERICAN HONDA MOTOR CO., INC.
  31. 63. Mark (A) a position on the steering rack surface with a felt-tip marker, 7.7 mm (0.3 in.) from the rack end.
    Fig 17: Identifying Mark A Position On Steering Rack Surface With A Felt-Tip Marker
    G03675531Courtesy of AMERICAN HONDA MOTOR CO., INC.
  32. 64. Apply multipurpose grease to the steering rack teeth, then insert the steering rack (A) into the cylinder (B). Be careful not to damage the inner surface of the cylinder wall and bushing with the rack edges.
    Fig 18: Inserting Steering Rack Into Cylinder
    G03675532Courtesy of AMERICAN HONDA MOTOR CO., INC.
  33. 65. Set the cylinder (A) in a press, then press the cylinder end seal (B) into the bottom of the cylinder until the mark (C) on the rack meets the edges (D) of the cylinder.
    Fig 19: Pressing Cylinder End Seal Into Bottom Of Cylinder
    G03675533Courtesy of AMERICAN HONDA MOTOR CO., INC.
  34. 66. Coat the inside and outside surfaces of the new cylinder end seal (A) with power steering fluid.
    Fig 20: Coating Inside And Outside Surfaces Of New Cylinder End Seal With Power Steering Fluid
    G03675534Courtesy of AMERICAN HONDA MOTOR CO., INC.
  35. 67. Install the cylinder end seal onto the steering rack (B) with its grooved side (C) toward the piston. Push in the cylinder end seal with your finger.
  36. 68. Place the backup ring (D) on the cylinder end seal with its flat side facing upward. Then drive the backup ring in with the appropriate size socket wrench until the surface is below the snap ring groove (E). Apply multipurpose grease to the surface of the snap ring (F), then install it in the groove.
    NOTE: Make sure that the center (G) of the snap ring's opening is in position as shown.
  37. 69. Install the new lock screw (A) on the cylinder.
    Fig 21: Installing Lock Screw On Cylinder
    G03675535Courtesy of AMERICAN HONDA MOTOR CO., INC.
  38. 70. Install the new stop ring (B) in the groove (C) on the cylinder by expanding it with snap ring pliers. Be careful not to scratch or damage the cylinder surface with the stop ring edges.
  39. 71. Coat the housing surface with multipurpose grease as shown.
    Fig 22: Coating Housing Surface With Multipurpose Grease
    G03675536Courtesy of AMERICAN HONDA MOTOR CO., INC.
  40. 72. Set the new boot bands (B) on the band installation grooves of boot A by aligning the tabs (C) with the holes (D) of the band. Do not close the ear portion of the boot band yet.
    Fig 23: Setting New Boot Bands On Band Installation Grooves Of Boot
    G03675537Courtesy of AMERICAN HONDA MOTOR CO., INC.
  41. 73. Compress boot A by hand, and apply vinyl tape (E) to the bellows so the boots stay collapsed and pulled back. Pass boot A over the cylinder so the smaller diameter end of the boot faces the gearbox housing.
  42. 74. Apply multipurpose grease to the sliding surface of the slider guide (A). Keep grease off of the rack-to-slider guide matching surfaces and the boot-to-slider guide matching surfaces. Slide the steering rack all the way to the left, and place the slider guide on the steering rack by aligning the bolt holes (B).
    Fig 24: Applying Multipurpose Grease To Sliding Surface Of Slider Guide
    G03675538Courtesy of AMERICAN HONDA MOTOR CO., INC.
  43. 75. Hold the gearbox housing using a C-clamp (commercially available) (A) and the wooden block (B) as shown. Do not clamp the cylinder or gearbox housing in the vice.
    Fig 25: Holding Gearbox Housing Using A C-Clamp
    G03675539Courtesy of AMERICAN HONDA MOTOR CO., INC.
  44. 76. Push the cylinder (A) into the gearbox housing (B) so the notch (C) is aligned with the pin (D) inside of the gearbox housing.
    Fig 26: Pushing Cylinder Into Gearbox Housing
    G03675540Courtesy of AMERICAN HONDA MOTOR CO., INC.
  45. 77. Tighten the lock screw (A) by hand first, then install the special tool (B) on the lock screw. Lightly tighten the lock screw. Do not tighten the lock screw to specified torque yet. Remove the special tool.
    Fig 27: Tightening Lock Screw
    G03675541Courtesy of AMERICAN HONDA MOTOR CO., INC.
  46. 78. Coat the new O-ring (A) with grease, and carefully fit it on the valve housing.
    Fig 28: Fitting O-ring On The Valve Housing With Torque Specifications
    G03675542Courtesy of AMERICAN HONDA MOTOR CO., INC.
  47. 79. Apply multipurpose grease to the needle bearing (B) in the gearbox housing, then install the valve body unit (C) by engaging the gears. Note the valve body unit installation position (direction of the line connections). Tighten the flange bolts (D) to the specified torque.
  48. 80. Apply multipurpose grease to the sliding surface and circumference of the rack guide (A), and install it into the gearbox housing. Wipe the grease off the threaded section of the housing.
    Fig 29: Applying Multipurpose Grease To Sliding Surface And Circumference Of Rack Guide
    G03675543Courtesy of AMERICAN HONDA MOTOR CO., INC.
  49. 81. Install the disc washer (B) with its convex side facing in, then install the spring (C).
  50. 82. Apply sealant to the middle of the threads on the rack guide screw (D), then install and tighten it to 25 N.m (2.5 kgf.m, 18 lbf.ft). Loosely install the locknut (E).
  51. 83. Center the steering rack within its stroke, and align the slider guide (B) with the holes (C) in the boot A. Fit the slider guide to boot A by pressing around the edges of the holes securely.
    Fig 30: Aligning Slider Guide With Holes In Boot
    G03675544Courtesy of AMERICAN HONDA MOTOR CO., INC.
  52. 84. Before installing the bracket (D), clean the mating surface of the 12 mm flange bolts (E) and bracket. Coat the new O-rings (F) with multipurpose grease, and install them on the 12 mm flange bolts.
  53. 85. Loosely install the bracket on the steering rack by tightening the 12 mm flange bolts to 25 N.m (2.5 kgf.m, 18 lbf.ft).
  54. 86. Hold the gearbox housing using a C-clamp, then install the special tool on the lock screw (A). Retighten the lock screw to specified torque values. Remove the special tool.
    Fig 31: Installing Special Tool On Lock Screw With Torque Specifications
    G03675545Courtesy of AMERICAN HONDA MOTOR CO., INC.
  55. 87. Retighten the 12 mm flange bolts (A) to specified torque values.
    Fig 32: Tightening Flange Bolts To Specified Torque Values
    G03675546Courtesy of AMERICAN HONDA MOTOR CO., INC.
  56. 88. After tightening the 12 mm flange bolts, install a new stop washer (B) over one of the bolt heads (C). Be sure the tabs (D) of the stop washer are aligned with the flat surfaces (E) of the bolt head.
  57. 89. Clean off any grease or contamination from the boot installation grooves around on the housing.
  58. 90. Expand the boot A by removing the vinyl tape, and fit the boot ends (B) in the installation grooves on the cylinder housing.
    Fig 33: Installing Stop Washer
    G03675547Courtesy of AMERICAN HONDA MOTOR CO., INC.
  59. 91. Close the ear portion (A) of the bands (B) with a commercially available pincers, Oetiker 1098 or equivalent (C).
    Fig 34: Closing Ear Portion Of Bands
    G03675548Courtesy of AMERICAN HONDA MOTOR CO., INC.
  60. 92. Install the rack end plug (A).
    Fig 35: Installing Rack End Plug With Torque Specifications
    G03675549Courtesy of AMERICAN HONDA MOTOR CO., INC.
  61. 93. Clean off any grease or contamination from the boot installation grooves (C) around the housing and the rack end plug.
  62. 94. Slide the steering rack, and adjust the distance between the cylinder housing end and the end of the rack end plug to 70.5 mm (2.8 in.). Install the boot B, and set the boot end in the installation grooves in the cylinder housing and the rack end plug properly. Install the clip (D) and boot guard (E). Install the new boot band (F) in the band grooves of the boot B by aligning the tabs (G) with the holes (H) in the band.
  63. 95. Close the ear portion (A) of the band (B) with a commercially available pincers, Oetiker 1098 or equivalent (C). Slide the rack right and left to be certain that the boots are not deformed or twisted.
    Fig 36: Closing Ear Portion Of Band
    G03675550Courtesy of AMERICAN HONDA MOTOR CO., INC.
  64. 96. Install a new lock washer (A) on the tie-rod (B) with the radiused side of the washer toward the tie-rod, and screw the tie-rod into the bracket (C). Repeat this step for the other tie-rod. Hold the bracket with one wrench, and tighten both tie-rods to the specified torque with another wrench.
    Fig 37: Installing Lock Washer On Tie-Rod With Torque Specifications
    G03675551Courtesy of AMERICAN HONDA MOTOR CO., INC.
  65. 97. Bend the lock washers (A) against the flat spots on the bracket with a large pair of pliers.
    Fig 38: Bending Lock Washers
    G03675552Courtesy of AMERICAN HONDA MOTOR CO., INC.
  66. 98. Install the cylinder lines (A) and return line joint (B).

    Note these items during reassembly:

    • Thoroughly clean the joints of the cylinder lines. The joints must be free of foreign material.
    • Install the cylinder lines by tightening the flare nuts by hand first, then tighten the flare nuts to the specified torque.
      Fig 39: Installing Cylinder Lines And Return Line Joint With Torque Specifications
      G03675553Courtesy of AMERICAN HONDA MOTOR CO., INC.
  67. 99. Adjust the rack guide screw (see RACK GUIDE ADJUSTMENT  ). After adjusting, check that the rack moves smoothly by sliding it right and left.