LEMON Manuals: Even more car manuals for everyone: 1960-2025
Home >> Honda >> 2006 >> CR-V SE >> Repair and Diagnosis >> Transmission >> Automatic Trans >> Automatic Transmission >> Automatic Transmission >> System Description >> Electronic Control System >> Lock-up Control
April 5, 2026: LEMON Manuals is launched! Read the announcement.

Lock-up Control

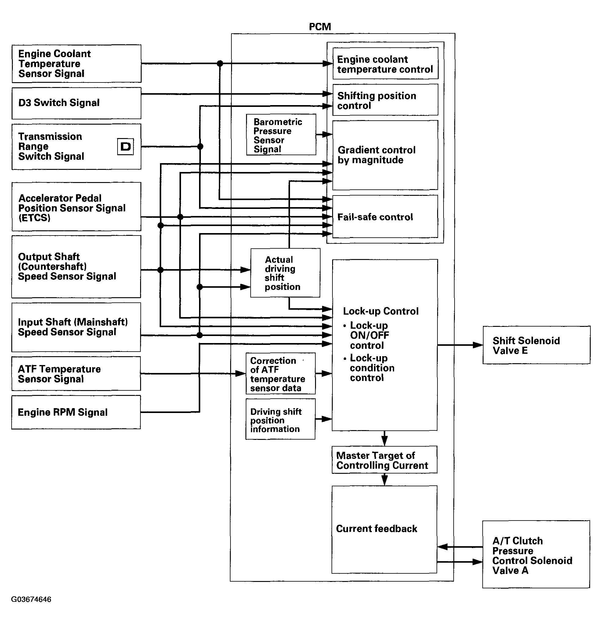
The shift solenoid valve E controls the hydraulic pressure to switch the lock-up shift valve and lock-up ON and OFF. The PCM actuates the shift solenoid valve E and the A/T clutch pressure control solenoid valve A to control the torque converter clutch lock-up. When the shift solenoid valve E is turned ON, the lock-up condition starts. The A/T clutch pressure control solenoid valve A regulates and apply the hydraulic pressure to the lock-up control valve to control the amount of the lock-up. The lock-up mechanism operates in 2nd, 3rd, 4th, and 5th gears in the D position, and 2nd and 3rd gears in the D position D3 driving mode.

Fig 1: Automatic Transmission Lock-Up Control Functional Diagram
G03674646Courtesy of AMERICAN HONDA MOTOR CO., INC.