LEMON Manuals: Even more car manuals for everyone: 1960-2025
Home >> Honda >> 2006 >> Civic L4-1.8L CNG >> Repair and Diagnosis >> Powertrain Management >> Computers and Control Systems >> Description and Operation >> VTEC/VTC System
April 5, 2026: LEMON Manuals is launched! Read the announcement.

VTEC/VTC System

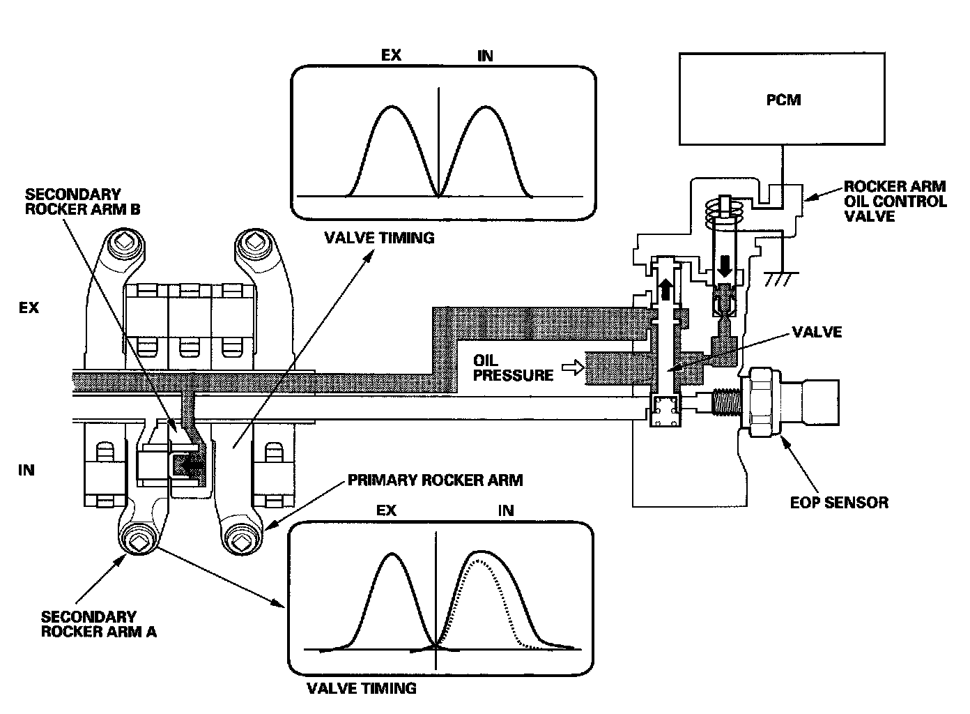
VTEC System

- This mechanism improves fuel efficiency and reduces exhaust emissions at all levels of engine speed, vehicle speed, and engine load.
- The VTEC mechanism changes the valve lift and timing by using more than one cam profile.
- The VTEC system changes the cam profile (angle) at cruising speeds. (Cam angle is changed to obtain the EGR effect and reduce pumping loss).

Operation

At engine start, and high load





- The rocker arm oil control valve is OFF.
- Oil pressure enters secondary rocker arm B from the oil passage in the intake rocker shaft. This forces the VTEC switching piston into secondary rocker arm A against the return spring and disengages the secondary arm A from the secondary arm B to stop valve actuation.

At cruise




The rocker arm oil control valve switches oil pressure to the oil passage in the intake rocker arm shaft. Oil pressure then enters secondary rocker arm A, and it moves the VTEC switching piston in the rocker arm. This causes the VTEC switching piston to slide into secondary rocker arm B, locking secondary rocker arms A and B together.