LEMON Manuals: Even more car manuals for everyone: 1960-2025
Home >> Honda >> 2006 >> Civic L4-1.8L >> Repair and Diagnosis >> Windows and Glass >> Windows >> Power Window Switch >> Testing and Inspection >> Master Switch Input Test
April 5, 2026: LEMON Manuals is launched! Read the announcement.

Master Switch Input Test

Master Switch Input Test

4-door with AUTO UP/AUTO DOWN function

NOTE: The power window control unit is built into the power window master switch, and it only controls the driver's window operations.




1. Remove the master switch (A).
2. Disconnect the 22P connector (B) from the master switch.
3. Inspect the connector and socket terminals to be sure they are all making good contact.
- If the terminals are bent, loose or corroded, repair them as necessary, and recheck the system.
- If the terminals look OK, make the above input tests at the connector.
- If a test indicates a problem, find and correct the cause, then recheck the system.
- If all the input tests prove OK, the power window master switch must be faulty; replace it.




4. With the master switch still disconnected, make these input tests at the connector.
- If any test indicates a problem, find and correct the cause, then recheck the system.
- If all the input tests prove OK, go to step 5.




5. Reconnect the 22P connector to the power window master switch. Turn the ignition switch ON (II), and make these input tests at the connector.
- If any test indicates a problem, find and correct the cause, then recheck the system.
- If all the input tests prove OK, the control unit must be faulty; replace the power window master switch.
6. Reset the power window control unit.

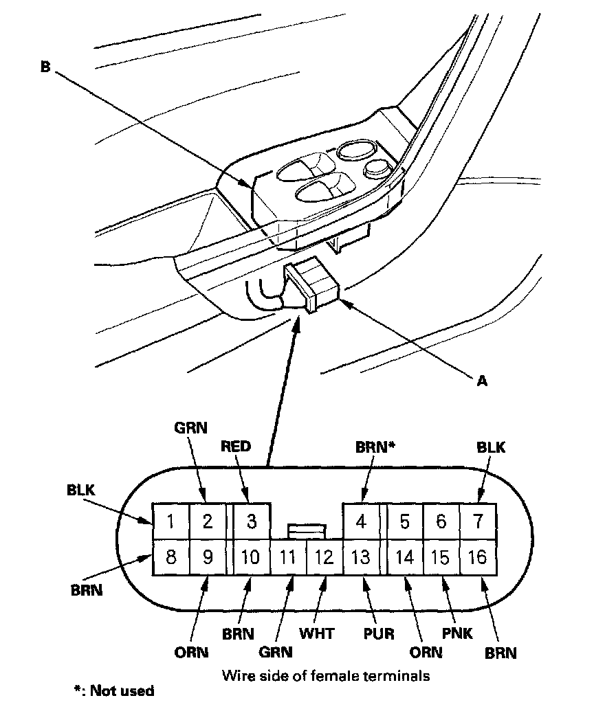
2-door with AUTO UP/AUTO DOWN function

NOTE: The power window control unit is built into the power window master switch, and it only controls the driver's window operations.

1. Remove the door panel.




2. Disconnect the 16P connector (A) from the master switch (B).
3. Inspect the connector and socket terminals to be sure they are all making good contact.
- If the terminals are bent, loose or corroded, repair them as necessary, and recheck the system.
- If the terminals look OK, make the above input tests at the connector.
- If a test indicates a problem, find and correct the cause, then recheck the system.
- If all the input tests prove OK, the power window master switch must be faulty; replace it.




4. With the master switch still disconnected, make these input tests at the connector.
- If any test indicates a problem, find and correct the cause, then recheck the system.
- If all the input tests prove OK, go to step 5.




5. Reconnect the 16P connector to the power window master switch. Turn the ignition switch ON (II), and make these input tests at the connector.
- If any test indicates a problem, find and correct the cause, then recheck the system.
- If all the input tests prove OK, the control unit must be faulty; replace the power window master switch.

6. Reset the power window control unit.