LEMON Manuals: Even more car manuals for everyone: 1960-2025
Home >> Honda >> 2006 >> Element 2WD L4-2.4L >> Repair and Diagnosis >> Brakes and Traction Control >> Antilock Brakes / Traction Control Systems >> Electronic Brake Control Module >> Service and Repair
April 5, 2026: LEMON Manuals is launched! Read the announcement.

Electronic Brake Control Module: Service and Repair

ABS Modulator-Control Unit Removal and Installation





NOTE:
^ Do not spill brake fluid on the vehicle; it may damage the paint; if brake fluid gets on the paint, wash it off immediately with water.
^ Be careful not to damage or deform the brake lines during removal and installation.
^ To prevent the brake fluid from flowing, plug and cover the hose ends and joints with a shop towel or equivalent material.

Removal
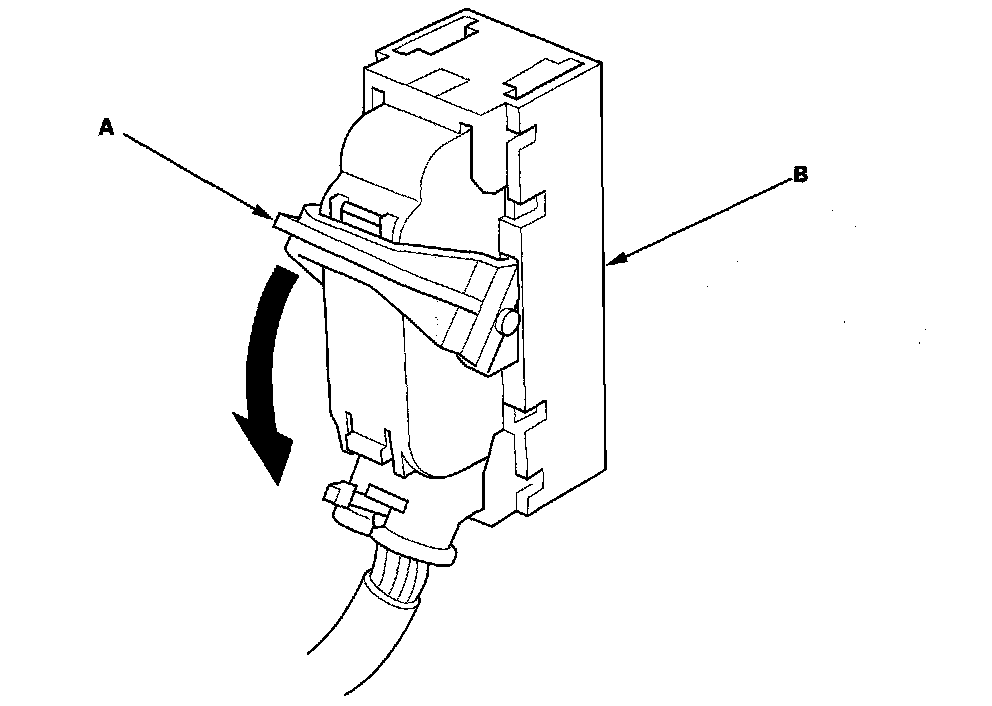
1. Push in the locking tab (A) and pull up the lock (B) of the ABS modulator-control unit 47P connector (C), and the connector disconnects itself.
2. Disconnect the six brake lines.
3. Remove the ABS modulator-control unit (D)/bracket (E) from the body.
4. Remove the two 6 mm shoulder bolts (F) and 6 mm bolt (G) from the bracket, then remove the ABS modulator control unit from the bracket.

Installation





1. install the ABS modulator-control unit on the bracket, then tighten the two 6 mm shoulder bolts and 6 mm bolt.
2. Install the ABS modulator-control unit/bracket on the body.
3. Align the connecting surface of the ABS modulator-control unit 47P connector.
4. Push in the lock (A) of the ABS modulator-control unit 47P connector (B), then connect the connector.
5. Connect the six brake lines.
6. Bleed the brake system, starting with the front wheels.
7. Start the engine, and check that the ABS indicator and brake system indicator go off.
8. Test-drive the vehicle, and check that the ABS indicator and brake system indicator do not come on.