LEMON Manuals: Even more car manuals for everyone: 1960-2025
Home >> Honda >> 2006 >> Element 4WD L4-2.4L >> Repair and Diagnosis >> Cruise Control >> Cruise Control Servo Cable >> Adjustments
April 5, 2026: LEMON Manuals is launched! Read the announcement.

Cruise Control Servo Cable: Adjustments

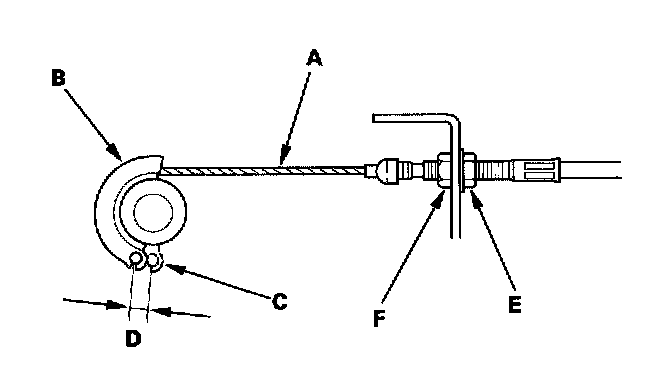
Cruise Control Actuator Cable Adjustment




1. Check that the actuator cable (A) moves smoothly with no binding or sticking.
2. Measure the amount of movement of the output linkage (B) until the engine speed starts to increase. At first, the output linkage should be located at the fully closed position (C). The free play (D) should be 3.75 ± 0.5 mm (0.15 ± 0.02 in.).
3. If the free play is not within specs, loosen the locknut (E), and turn the adjusting nut (F) until the free play is as specified, then retighten the locknut.