LEMON Manuals: Even more car manuals for everyone: 1960-2025
Home >> Honda >> 2006 >> Insight Automatic CVT >> Repair and Diagnosis >> Engine Performance >> System >> Advanced Diagnostics >> DTC P1445 (62): Bypass Contactor Problem >> Notes
April 5, 2026: LEMON Manuals is launched! Read the announcement.

DTC P1445 (62): Bypass Contactor Problem: Notes

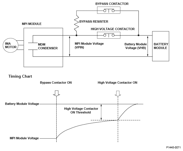
Fig 1: Bypass Contactor - Circuit Diagram
G04817866