LEMON Manuals: Even more car manuals for everyone: 1960-2025
Home >> Honda >> 2006 >> Odyssey EX-L >> Repair and Diagnosis (Single Page) >> Engine Performance >> System >> EVAP System >> FTP Sensor Replacement
April 5, 2026: LEMON Manuals is launched! Read the announcement.

FTP Sensor Replacement

  1. Remove the EVAP canister (see EVAP CANISTER REPLACEMENT  ).
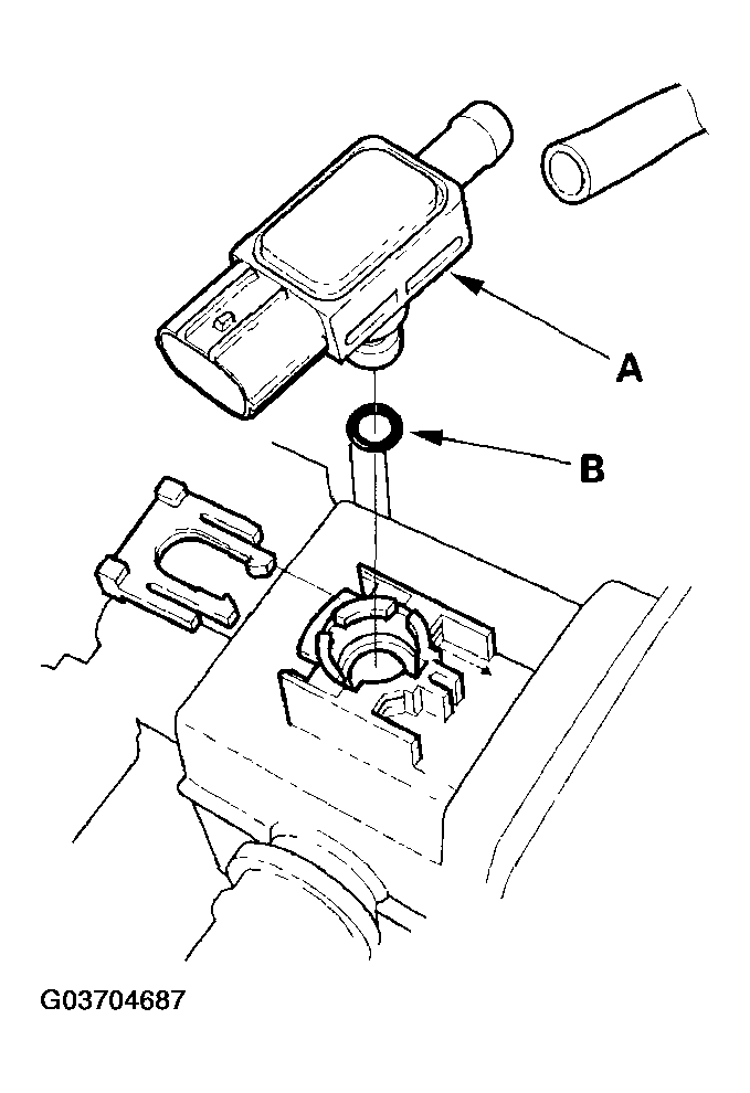
  2. Remove the FTP sensor (A).
    Fig 1: Removing FTP Sensor
    G03704687Courtesy of AMERICAN HONDA MOTOR CO., INC.
  3. Install the sensor in the reverse order of removal with a new O-ring (B).