LEMON Manuals: Even more car manuals for everyone: 1960-2025
Home >> Honda >> 2006 >> Odyssey V6-3.5L >> Repair and Diagnosis >> Accessories and Optional Equipment >> Entertainment Systems >> Entertainment System Control Module >> Service and Repair
April 5, 2026: LEMON Manuals is launched! Read the announcement.

Entertainment System Control Module: Service and Repair

Rear Controller and Screen Removal/Installation

NOTE:
- Put on gloves to protect your hands
- Take care not to scratch the headliner and display cover




1. Remove the display cover.




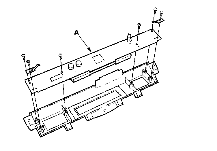
2. Remove the mounting bolts, disconnect the connector (A) from the rear controller and screen.




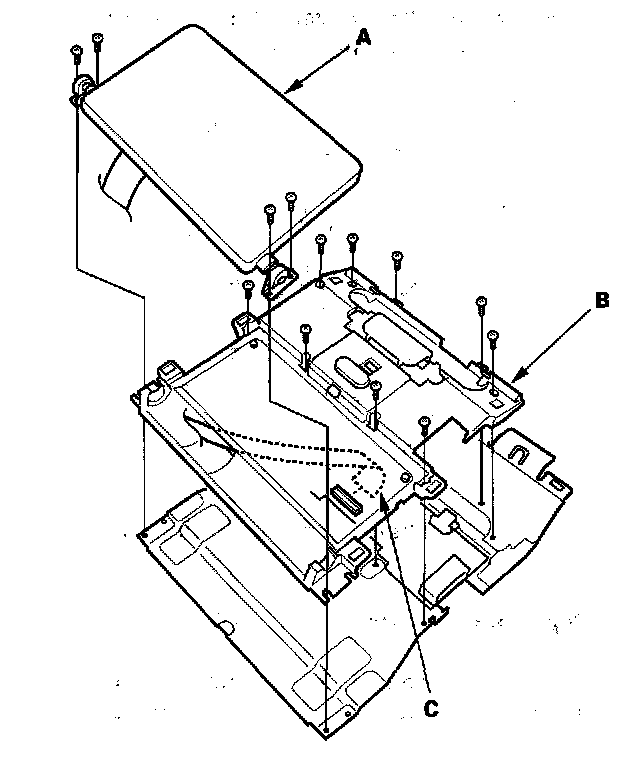
3. Remove the wireless remote control (A).
4. Remove the screws from the rear indicator (B).
5. Disconnect the cable (C) from the rear indicator.




6. Remove the screws, then remove the rear indicator printed circuit board (A).




7. Remove the screws, then remove the screen (A) and base (B). Disconnect the cable (C).




8. Remove the screws and lock switch (A).




9. Disconnect the cable (A), then remove the screws and the rear control printed circuit board (B).
10. Install the parts in the reverse order of removal, and make sure the rear controller and screen connector is plugged in properly.