LEMON Manuals: Even more car manuals for everyone: 1960-2025
Home >> Honda >> 2006 >> Odyssey V6-3.5L >> Repair and Diagnosis >> Powertrain Management >> Computers and Control Systems >> Information Bus >> Testing and Inspection >> Component Tests and General Diagnostics >> Multiplex Integrated Control Unit Input Test
April 5, 2026: LEMON Manuals is launched! Read the announcement.

Multiplex Integrated Control Unit Input Test

Multiplex Integrated Control Unit Input Test

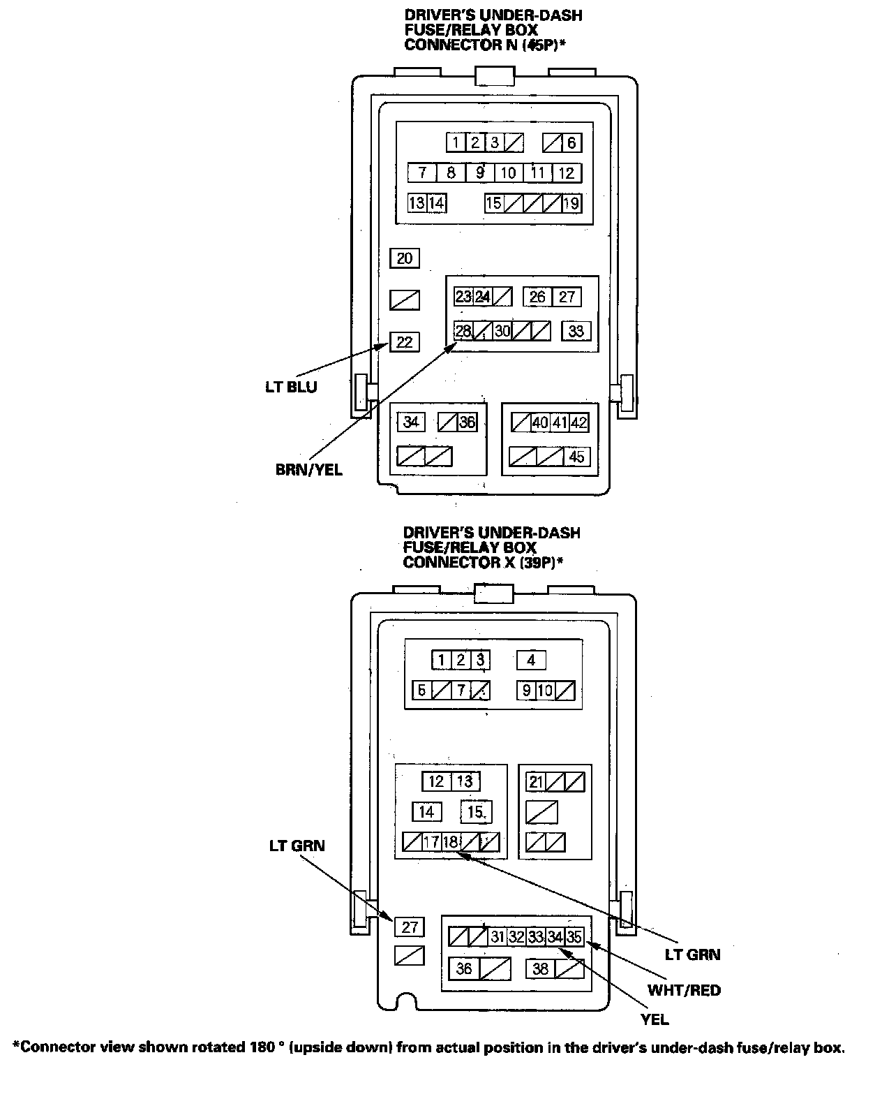
NOTE: Make sure the ignition switch is OFF before troubleshooting the driver's under-dash fuse/relay box connectors.

1. Remove the left side kick panel.







2. Disconnect the driver's under-dash fuse/relay box connectors.

NOTE: All connector views are wire side of female terminals.

3. Inspect the connector and socket terminals to be sure they are all making good contact.
- If the terminals are bent, loose or corroded, repair them as necessary, and recheck the system.
- if the terminals look OK, go to step 4.







4. With the connectors still disconnected from the under-dash fuse/relay box, make these input tests at the connector(s).
- If any test indicates a problem, find and correct the cause, then recheck the system.
- If all the input tests prove OK, go to step 5.




5. Reconnect the connectors to the driver's under-dash fuse-relay box, and make sure these input tests at the appropriate connectors on the driver's under-dash fuse/relay box.
- If any test indicates a problem, find and correct the cause, then recheck the system.
- If all the input tests prove OK, the MICU must be faulty, replace the driver's under-dash fuse/relay box assembly.