LEMON Manuals: Even more car manuals for everyone: 1960-2025
Home >> Honda >> 2006 >> Odyssey V6-3.5L >> Repair and Diagnosis >> Windows and Glass >> Windows >> Power Window Switch >> Service and Repair >> Master Switch Replacement
April 5, 2026: LEMON Manuals is launched! Read the announcement.

Master Switch Replacement

Master Switch Replacement

1. Remove the driver's door panel.




2. Remove the screw and disconnect the 23P connector (A) and 13P connector (B) from the master switch panel (C), then remove the switch assembly from the door panel.




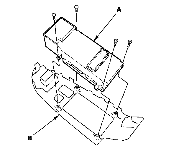
3. Remove the four mounting screws, then remove the master switch (A) from the switch panel (B).
4. Install in the reverse order of removal.
5. Reset the power window control unit.