LEMON Manuals: Even more car manuals for everyone: 1960-2025
Home >> Honda >> 2006 >> S2000 L4-2.2L >> Repair and Diagnosis >> Testing and Inspection
April 5, 2026: LEMON Manuals is launched! Read the announcement.

Repair and Diagnosis: Testing and Inspection




Power Relay Test

Use this chart to identify the type of relay, then do the test listed for it.

NOTE: For the turn signal/hazard relay input test, refer to Turn Signal Relay.

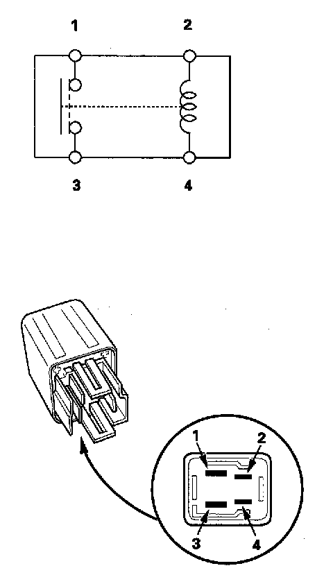
Normally-open type A




Check for continuity between the terminals.
- There should be continuity between the No. 1 and No. 2 terminals when power and ground are connected to the No. 3 and No. 4 terminals.
- There should be no continuity between the No. 1 and No. 2 terminals when power is disconnected.

Normally-open type B




Check for continuity between the terminals.
- There should be continuity between the No. 1 and No. 3 terminals when power and ground are connected to the No. 2 and No. 4 terminals.
- There should be no continuity between the No. 1 and No. 3 terminals when power is disconnected.

Five-terminal type A







Check for continuity between the terminals.
- There should be continuity between the No. 1 and No. 2 terminals when power and ground are connected to the No. 3 and No. 5 terminals.
- There should be continuity between the No. 2 and No. 4 terminals when power is disconnected.

Five-terminal type B







Check for continuity between the terminals.
- There should be continuity between the No. 1 and No. 2 terminals when power and ground are connected to the No. 5 and No. 3 terminals.
- There should be continuity between the No. 1 and No. 4 terminate when power is disconnected.
- Intermittent wiper relay ('00-01 models)
- Rear window defogger relay ('02-06 models)
- Rear window defogger change relay ('02-06 models)