LEMON Manuals: Even more car manuals for everyone: 1960-2025
Home >> Honda >> 2007 >> Accord L4-2.4L >> Repair and Diagnosis >> Heating and Air Conditioning >> Solar Sensor >> Service and Repair
April 5, 2026: LEMON Manuals is launched! Read the announcement.

Solar Sensor: Service and Repair

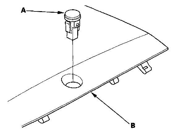
Sunlight Sensor Replacement

1. Remove the upper panel from the dashboard.




2. Remove the sunlight sensor (A) from the upper panel (B). Be careful not to damage the sensor.
3. Install the sensor in the reverse order of removal.