LEMON Manuals: Even more car manuals for everyone: 1960-2025
Home >> Honda >> 2007 >> Accord L4-2.4L >> Repair and Diagnosis >> Powertrain Management >> Computers and Control Systems >> Description and Operation >> Electronic Throttle Control System
April 5, 2026: LEMON Manuals is launched! Read the announcement.

Electronic Throttle Control System

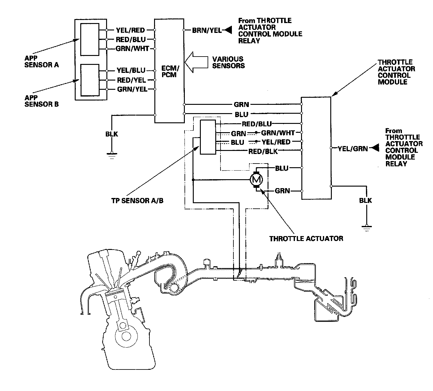
Electronic Throttle Control System Diagram ('06-07 models)




The electronic throttle control system consists of the throttle actuator, throttle position (TP) sensor, accelerator pedal position (APP) sensor, throttle actuator control module, and the ECM/PCM. The throttle is electronically controlled by this system.