LEMON Manuals: Even more car manuals for everyone: 1960-2025
Home >> Honda >> 2007 >> Accord L4-2.4L >> Repair and Diagnosis >> Powertrain Management >> Transmission Control Systems >> Testing and Inspection >> Component Tests and General Diagnostics >> Non-Trouble Code Procedures >> Pressure Test
April 5, 2026: LEMON Manuals is launched! Read the announcement.

Pressure Test

Pressure Test

Special Tools Required
^ A/T clutch pressure gauge set 07406-0020400 or 07406-0020401
^ A/T pressure hose, 2,210 mm 07MAJ-PY4011A
^ A/T pressure hose adapter 07MAJ-PY401201

1. Make sure the transmission fluid is filled to the proper level.
2. Lift the vehicle up on a lift or apply the parking brake, block rear wheels, and raise the front of the vehicle. Make sure it is securely supported.
3. Allow the front wheels to rotate freely.








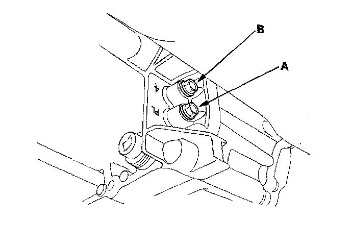
4. Connect the oil pressure gauges to the line pressure inspection hole (A) and 4th clutch pressure inspection hole (B). Do not allow dust or other foreign particles to enter the holes while connecting the gauges.





5. Remove the intake air duct and air cleaner housing, and connect the oil pressure gauges to the 2nd clutch pressure inspection hole (C). Then temporarily install the air cleaner housing and intake air duct.





6. Connect the oil pressure gauge to the 1st clutch pressure inspection hole (D), 3rd clutch pressure inspection hole (E), and 5th clutch pressure inspection hole (F).
7. Warm up the engine (the radiator fan comes on), then stop it and connect the HDS to the DLC
8. Start the engine, and run it at 2,000 rpm in the P or N position.





9. Measure the line pressure at the line pressure inspection hole (A).

NOTE: Higher pressure may be indicated if measurements are made in shift lever position other than N or P.

10. Shift to the 1 position, and measure the 1st clutch pressure at the 1st clutch pressure inspection hole (D) while holding engine speed at 2,000 rpm.
11. Shift to the 2 position, and measure the 2nd clutch pressure at the 2nd clutch pressure inspection hole (C) while holding engine speed at 2,000 rpm.
12. Shift to the P position, then press the brake pedal and hold it.
13. Shift to the D3 position, press the accelerator pedal to increase the engine speed to 2,500 rpm; the transmission shifts into 2nd gear.
14. Release the accelerator pedal; the engine speed decreases to 1,000 rpm with the transmission in 2nd gear.
15. Press the accelerator pedal very slowly so that the engine speed increases to 2,000 rpm on 5 seconds, then hold the accelerator; the transmission shifts into 3rd gear. Measure the 3rd clutch pressure at the 3rd clutch pressure inspection hole (E) while holding the engine speed at 2,000 rpm.
16. Shift to the D position, and measure the 4th clutch pressure at the 4th clutch pressure inspection hole (B) while holding the engine speed at 2,000 rpm, then in about 15 seconds, the transmission will shift to 5th gear.
17. Measure the 5th clutch pressure at the 5th clutch pressure inspection hole (F) while holding the engine speed at 2,000 rpm.
18. Bring the engine back to an idle, then apply the brake to stop the wheels from rotating.





19. Shift to the R position. Raise the engine rpm to 2,000 rpm, and measure the reverse clutch pressure at the 4th clutch pressure inspection hole (B).





20. If the measurements are out of service limit, problems and probable causes are listed in the table.
21. Install the sealing bolts with the new sealing washers, and tighten the bolts to the specified torque. Do not reuse old sealing washers.
Torque: 18 Nm (1.8 kgf-m, 13 ft. lbs.)
22. Install the air cleaner housing and intake air duct.