LEMON Manuals: Even more car manuals for everyone: 1960-2025
Home >> Honda >> 2007 >> Accord L4-2.4L >> Repair and Diagnosis >> Relays and Modules >> Relays and Modules - Restraints and Safety Systems >> Air Bag Control Module >> Service and Repair >> SRS Unit Replacement
April 5, 2026: LEMON Manuals is launched! Read the announcement.

SRS Unit Replacement

SRS Unit Replacement

NOTE: Make sure the SRS unit and the impact sensors are of the same manufacturer.

Removal

1. Disconnect the battery negative cable, and wait at least 3 minutes before beginning work.
2. Disconnect both seat belt tensioner connectors.
3. Remove the center console and front panel.
4. Remove the center pocket.
5. Remove the center holder.
6. Remove the driver's and passenger's center lower cover.
7. Remove the heater vent ducts.




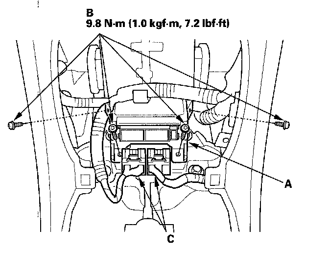
8. Disconnect the connectors and remove the TORX bolts (A), then pull out the SRS unit.

Installation




1. Install the new SRS unit (A) with TORX bolts (B). Then connect the connectors (C) to the SRS unit; push them into position until they click.

NOTE: Be sure the SRS unit is sitting squarely against its bracket before torquing the TORX bolts.

2. Reconnect both seat belt tensioner connectors.
3. Reconnect the battery negative cable.
4. After installing the SRS unit, confirm proper system operation: Turn the ignition switch ON (II); the SRS indicator should come on for about 6 seconds and then go off.
5. Install all removed parts.