LEMON Manuals: Even more car manuals for everyone: 1960-2025
Home >> Honda >> 2007 >> Element 2WD L4-2.4L >> Repair and Diagnosis >> Heating and Air Conditioning >> Receiver Dryer >> Service and Repair
April 5, 2026: LEMON Manuals is launched! Read the announcement.

Receiver Dryer: Service and Repair

Receiver/Dryer Desiccant Replacement

1. Remove the A/C condenser.




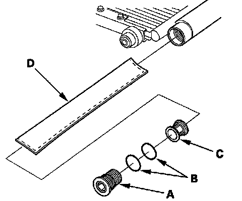
2. Remove the cap (A) from the bottom of the A/C condenser, then remove the O-rings (B), the filter (C) and the desiccant (D).
3. Install the desiccant in the reverse order of removal, and note these items:
- Replace the O-rings with new ones, and apply a thin coat of refrigerant oil (DENSO ND-OIL 8) before installing them.
- Be sure to use the correct O-rings for HFC-134a (R-134a) to avoid leakage.