LEMON Manuals: Even more car manuals for everyone: 1960-2025
Home >> Honda >> 2007 >> Element 4WD L4-2.4L >> Repair and Diagnosis >> Powertrain Management >> Computers and Control Systems >> Relays and Modules - Computers and Control Systems >> Oxygen Sensor Relay >> Testing and Inspection
April 5, 2026: LEMON Manuals is launched! Read the announcement.

Oxygen Sensor Relay: Testing and Inspection

Power Relay Test




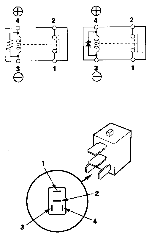
Use this chart to identify the type of relay, then do the test listed for it.

NOTE: The turn signal/hazard relay input test, refer to Lighting and Horns




Normally-open type A

Check for continuity between the terminals.

- There should be continuity between the No. 1 and No. 2 terminals when battery positive terminal is connected to the No. 4 terminal, and battery negative terminal is connected to the No. 3 terminal.
- There should be no continuity between the No. 1 and No. 2 terminals when power is disconnected.