LEMON Manuals: Even more car manuals for everyone: 1960-2025
Home >> Honda >> 2007 >> Element SC, Automatic >> Repair and Diagnosis (Single Page) >> Accessories & Equipment >> Warning Systems >> Tire Pressure Monitoring System >> System Description >> System Structure >> Indicators
April 5, 2026: LEMON Manuals is launched! Read the announcement.

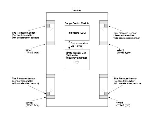
System Structure: Indicators

Two indicators are in the gauge control module: The low tire pressure indicator comes on when any tire pressure is low, and the TPMS indicator that comes on only if there's a problem with the system.

The low tire pressure indicator alerts the driver that a tire(s) pressure is low, but does not specify the tire(s) location.

Fig 1: Identifying TPMS System Structure Diagram
G00486270Courtesy of AMERICAN HONDA MOTOR CO., INC.