LEMON Manuals: Even more car manuals for everyone: 1960-2025
Home >> Honda >> 2007 >> Element SC, Automatic >> Repair and Diagnosis >> External Pages >> Different car >> Section 16 (Climate Control System (V6)) >> Outside Air Temperature Sensor Replacement
April 5, 2026: LEMON Manuals is launched! Read the announcement.

Outside Air Temperature Sensor Replacement

WARNING: This page does not describe the selected car, but rather 6 other vehicles, including the 2015 Honda Crosstour, 2014 Honda Crosstour, 2013 Honda Crosstour, 2012 Honda Crosstour, and 2011 Honda Accord Crosstour. However, it is still accessible from the selected car via links, so may be relevant.
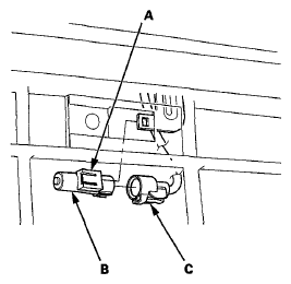
  1. Lift the tab (A) to release the lock, then remove the outside air temperature sensor (B) from the front bumper beam. Disconnect the 2P connector (C) from the outside air temperature sensor.
    Fig 1: Locating Tab, Outside Air Temperature Sensor And 2P Connector
    G06424142Courtesy of AMERICAN HONDA MOTOR CO., INC.
  2. Install the sensor in the reverse order of removal.